Mit Hilfe von Geräten wie Apple Vision Pro könnte der Kundensupport und das Personal Shopping bei Apple grundlegend verändert werden. Das Unternehmen arbeitet daran, Augmented Reality einzusetzen und etwa das dreidimensionale Abbild eines Beraters direkt ins Wohnzimmer des Kunden zu streamen. Auf diese Weise könnten Produkte interaktiv und in Echtzeit vorgestellt werden.
Bisher nutzt der Tech-Gigant die entsprechende Entwicklung, um etwa ausgewählte Geräte per AR in den Wohnräumen potenzieller Käufer zu simulieren, sodass diese sich ein Bild von den tatsächlichen Maßen und Proportionen, beispielsweise auf dem eigenen Schreibtisch, machen und so eine bessere Kaufentscheidung treffen können.
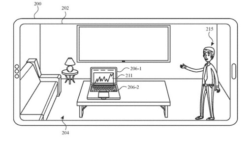
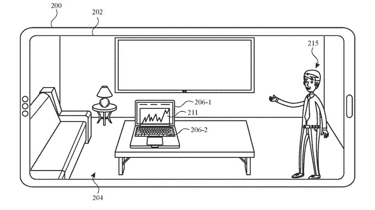
Ein kürzlich erteiltes Patent mit dem Titel "Guided Retail Experience" zeigt, wie Apple AR mit seinem aktuellen Online-Chat-System verbindet. Anstelle eines Textfeldes könnte eine Videoübertragung des Apple Store Personal Shoppers getätigt werden. Der Verkäufer könnte etwa in einem Video-Chat-Fenster erscheinen oder mittels AR in die Umgebung des Nutzers projiziert werden.
Herkömmliche Online-Shopping-Erlebnisse ermöglichen es dem Nutzer, Produkte mithilfe eines elektronischen Geräts wie einem Laptop, Desktop-Computer, Tablet oder Smartphone zu durchsuchen und zu kaufen. Allerdings fehlt beim Online-Einkauf oft das direkte Feedback, Antworten auf Fragen, Vorschläge, Produktvorführungen und die menschliche Verbindung, die während eines persönlichen Einkaufserlebnisses gegeben ist. Außerdem kann der Benutzer, wenn er sich in einer entfernten Umgebung befindet, nicht vollständig mit der Online-Darstellung des Produkts interagieren und somit keine vollständige Demonstration des Produkts erleben.
- Apple
Das 2021 angemeldete und nun erteilte Patent "Guided Consumer Experience" hingegen konzentriert sich darauf, was ein Nutzer in der Umgebung von dem neuen Produkt sieht. Zudem erklärt Apple:
Dies ermöglicht dem Benutzer, in einer entfernten Umgebung zu bleiben und ein interaktives Einkaufserlebnis mit dem Verkäufer zu haben. Der Verkäufer kann relevante Produkte anbieten, Vorschläge auf Grundlage der Interaktion machen und in der CGR-Umgebung vollständige Demonstrationen verschiedener Produkte und Dienstleistungen ermöglichen. Der Verkäufer kann dem Benutzer in der CGR-Umgebung ein Produkt oder eine Produktreihe anzeigen. Der Benutzer kann dann mit den Produkten interagieren und eine Demonstration durchführen - mit oder ohne Eingabe des Verkäufers. Das bietet dem Benutzer ein Einkaufserlebnis, das in einer entfernten Umgebung wie dem Haus des Benutzers stattfinden kann, aber dennoch die Vorteile und Möglichkeiten eines persönlichen Einkaufserlebnisses bietet.
Apple hat bisher nicht bekannt gegeben, ob und wann es diese Patente in der Praxis umsetzen wird. Allerdings zeigen die Patente, dass das Unternehmen nach wie vor an AR als Technologie für seine Retail- und Support-Angebote interessiert ist.
Quelle(n)
Apple Insider | Teaserbild: Symbolbild mit Bing AI erstellt


















