Vier Spieler, aber nur drei Controller – ein Problem, das Konsolenspieler nur zu gut kennen dürften. Ein kürzlich von der WIPO (Weltorganisation für geistiges Eigentum) veröffentlichtes Patent zeit eine Technologie, mit der Controller-Mangel für Switch-Spieler bald der Vergangenheit angehören könnte.
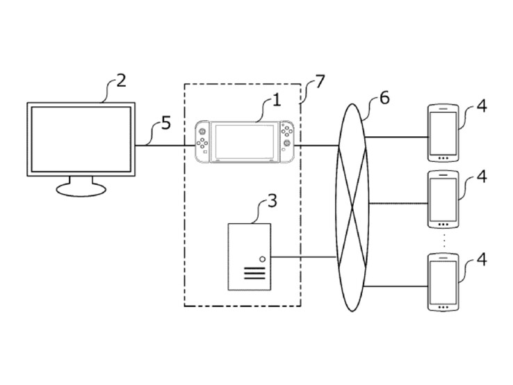
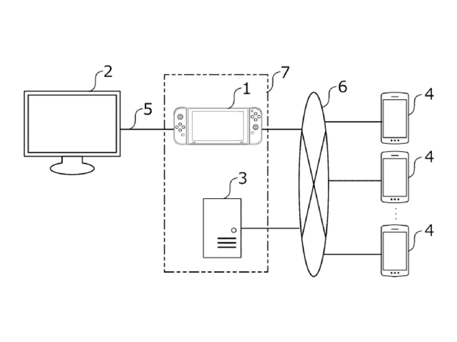
Das Patent illustriert die Möglichkeit, Smartphones anstelle herkömmlicher Controller zu nutzen. Diese könnten über einen QR-Code, der auf dem TV-Bildschirm angezeigt wird, mit der Konsole verbunden werden. Damit könnten sie nicht nur fehlende Controller ersetzen, sondern auch die Möglichkeit eröffnen, weit mehr Spieler in lokale Multiplayer-Spiele einzubinden, als es aktuell mit Joy-Cons (auf Amazon für 70 Euro erhältlich) und Pro-Controllern (auf Amazon für 60 Euro erhältlich) möglich ist. Außerdem wäre es denkbar, dass Smartphones nicht nur als Controller, sondern als als Zweitbildschirm eingesetzt werden, was in lokalen Multiplayer-Spiele viele neue Möglichkeiten eröffnen würde.
Anzumerken ist, dass das Pantent keinen unmittelbaren Hinweis darauf gibt, dass es sich um eine Switch 2-Funktion handelt. Die Illustration zeigt eine gewöhnliche Nintendo Switch-Konsole. In Anbetracht der anstehenden Markteinführung, die aktuell für Ende März 2025 erwartet wird, ist es jedoch wahrscheinlich, dass sich Nintendo innovative Funktionen für vorerst aufsparen wird.
Entwickelt wurde die patentierte Technologie von Ikki Niwa und Yusuke Akifusa, die beide in Verbindung zu Nintendo stehen. Niwa hat als Spieldesigner an Nintendo Switch Sports mitgewirkt. Akifusa hat nicht nur an Spielen wie Pokémon Stadium 2 und The Legend of Zelda: The Wind Waker mitgearbeitet, sondern war auch als Director für Anwendungen wie Nintendo 3DS Sound und Nintendo 3DS Camera verantwortlich. Wenngleich offizielle Ankündigungen seitens Nintendo fehlen, liegt die Vermutung nahe, dass der Konzern an der Entwicklung unmittelbar beteiligt war.
Auf Reddit können sich viele User vorstellen, dass die Integration von Smartphones lokale Multiplayer-Spiele revolutionieren könnte. Es gibt jedoch auch kritische Stimmen, die befürchten, die Funktion könnte lediglich ein Gimmick bleiben – ähnlich wie der Zweitbildschirm der Wii U. Erst einmal bleibt jedoch abzuwarten, ob ein solches Feautres tatsächlich auf den Nachfolger der Nintendo Switch (auf Amazon für 288 Euro erhältlich) kommt.




















