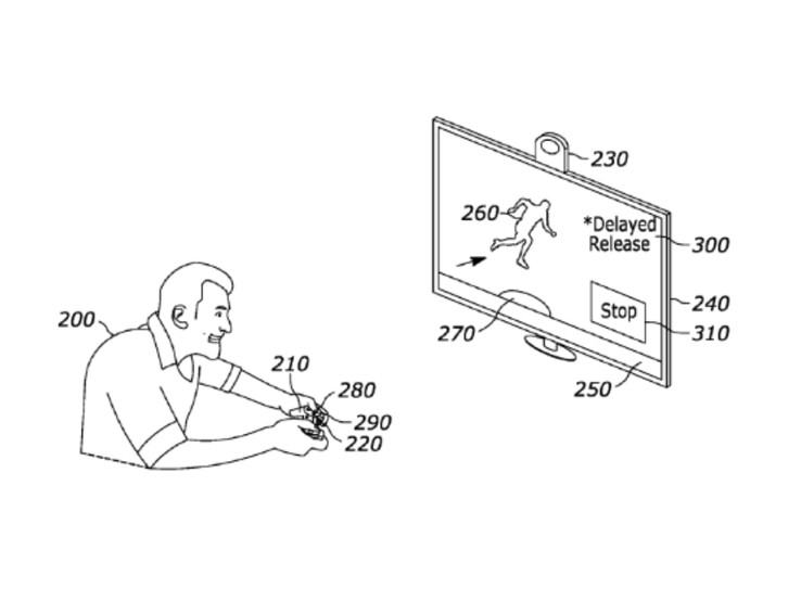
Sony hat ein neues Patent eingereicht. Unter der Patentnummer WO2025010132, eingereicht am 6. Juli 2023 und veröffentlicht am 9. Januar 2025, beschreibt der Konzern eine Technologie, die mithilfe von KI Spielereingaben vorhersagen soll. Das System kombiniert Daten von Kameras und Controllern, um Eingaben und Handbewegungen der Spieler zu erfassen. Dabei bleibt die genaue Position der Kamera flexibel. Sie könnte etwa im Controller, im Fernseher, in VR-Headsets oder anderen Geräten integriert sein.
Die KI analysiert diese unvollständigen Daten in Echtzeit und führt vorhergesagte Aktionen aus. Dabei sollen auch kontextbezogene Informationen aus Game-Engines berücksichtigen werden – etwa Charakterpositionen oder Gegnerbewegungen. Der Hauptvorteil dürfte in der Reduktion der Latenz liegen. Besonders in schnellen Spielen könnten Eingaben präziser und flüssiger umgesetzt werden. Zudem könnten ungewollte Eingaben durch wiederholtes Drücken einer Taste weitgehend vermieden werden.
Konkretes Praxisbeispiel
Hebt ein Spieler den Daumen leicht an, könnte die KI bereits einen Sprung über ein Hindernis ausführen, noch bevor der Button vollständig gedrückt wird. Bei einem Waffeneinsatz könnte die KI verhindern, dass der Schuss abgefeuert wird, wenn kein Ziel in Reichweite ist. Fehler sind dabei natürlich nicht auszuschließen. Es könnte also durchaus passieren, dass Sonys neue Technologie auch Fehleingaben verursacht.
Reaktionen aus der Community
Auf Plattformen wie Reddit zeigt sich ein gemischtes Bild. Viele Redditoren sehen in Sonys neuer Technologie das Potential, Latenzprobleme zu lösen und kreative Gameplay-Mechaniken zu fördern. Es gibt jedoch auch kritische Stimmen, die anmerken, dass ähnliche Technologien bereits existieren.
So gibt es beispielsweise den Rollback-Netcode, der in vielen modernen Kampfspielen wie Street Fighter V oder Mortal Kombat 11 verwendet wird. Dieser Netcode versucht, Eingaben der Spieler vorherzusagen, um Verzögerungen in Online-Matches zu minimieren. Wenn die Vorhersage korrekt ist, wirkt das Spiel flüssig – falls nicht, wird die Aktion im Nachhinein korrigiert. Ganz neu ist Sonys Konzept also nicht. Dennoch hat sie das Potential, Gaming ein Stück weit komfortabler zu machen.
Zunächst nur in Spielen der Sony-Studios
Die Technologie soll zunächst in Spielen von Sony-eigenen Studios Anwendung finden. Ob sie auch für die PlayStation 5 verfügbar sein wird oder erst mit der PlayStation 6 Einzug hält, ist derzeit unklar. Der Einsatz in Spielen von Drittanbietern bleibt ebenfalls offen.
























