In einem neuen, von tech4gamers.com entdeckten Patent äußert AMD seine Bedenken hinsichtlich der Bandbreitenlimits des DDR5-Standards – insbesondere vor dem Hintergrund des stetig steigenden Bedarfs an Rechenleistung für KI. Während Nvidia und Speicherchip-Hersteller wie Samsung, SK Hynix und Micron auf den SOCAMM2-Standard setzen, schlägt AMD eine Alternative vor, die sich einfacher in bestehende DDR5-Systeme integrieren lässt – egal ob in Consumer-PCs oder Rechenzentren.
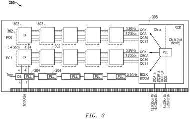
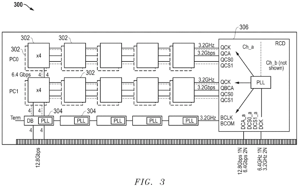
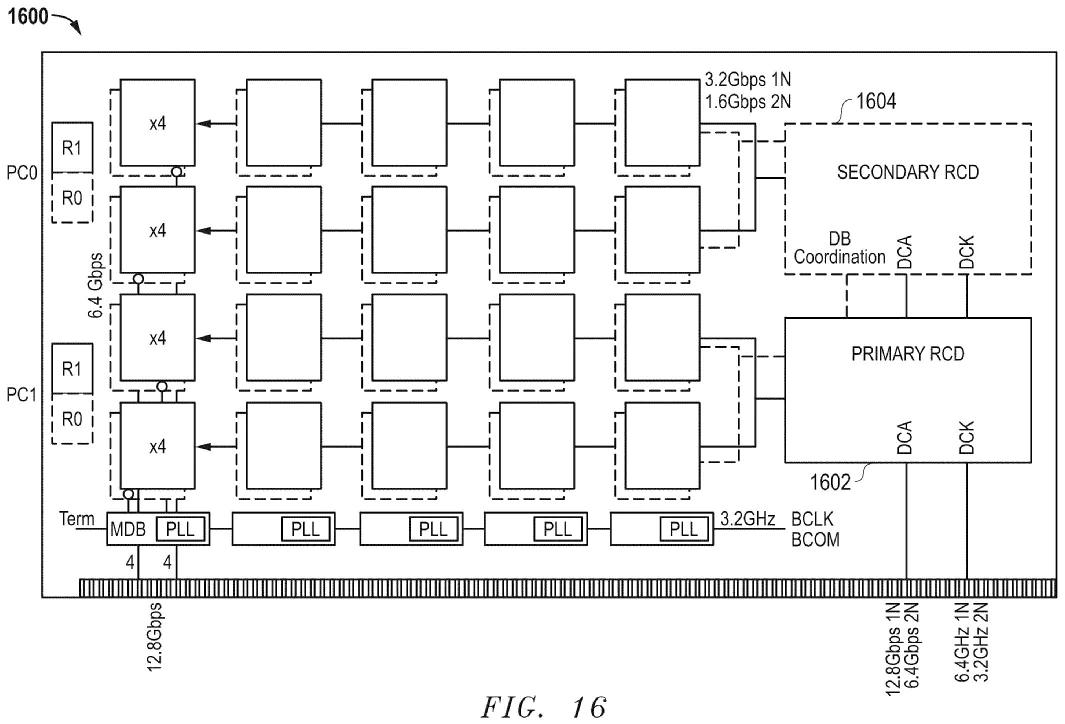
Der verbesserte Speicherstandard von AMD umfasst eine „High-Bandwidth-Memory-Modul-Architektur“, die die maximale DDR5-Bandbreite von derzeit 6,4 Gbit/s im Prinzip verdoppelt. Wichtig ist dabei, dass die 12,8 Gbit/s Bandbreite erreicht werden, ohne das Design der DRAM-Chips zu verändern. Stattdessen werden die DRAM-Chips auf einem High-Bandwidth-Dual-Inline-Memory-Modul (HB-DIMM) platziert. Diese Module integrieren zusätzliche Hardware-Komponenten wie spezielle Pufferchips, die im Vergleich zum bisherigen DDR5-Standard doppelt so schnelle Datenübertragungen ermöglichen. Außerdem kommen Register-Clock-Driver (RCDs) zum Einsatz, die Signale effizienter weiterleiten, den Speicherzugriff parallelisieren und so die Durchsatzgrenzen des DDR5-Standards überwinden.
Das Patent beschreibt zudem, dass HB-DIMMs ein schnelles Umschalten zwischen Pseudo-Channel- und Quad-Rank-Modus erlauben. Damit eignet sich die Lösung für HPC-Systeme, KI-Anwendungen sowie Gaming-PCs. Die DDR5-Kompatibilität wird durch flexible Taktungsmodi und ein nicht-interleaved Datenübertragungsformat gewährleistet, das Signalstabilität und geringe Latenzen sicherstellt.
HB-DIMM scheint dem bestehenden MRDIMM-Standard (Multiplexed Rank Dual Inline Memory Modules) von Micron sehr ähnlich zu sein. Allerdings ist MRDIMM bislang nur für Intels Xeon Granite Rapids-Plattform verfügbar, weshalb AMD offenbar an einer vergleichbaren Lösung für künftige EPYC-Prozessoren arbeitet. Phoronix veröffentlichte kürzlich einen DDR5-6400-vs.-MRDIMM-8800-Test, bei dem sich zeigte, dass Microns proprietärer Standard zwar tatsächlich schneller ist, jedoch keinesfalls doppelt so schnell wie DDR5.
Da SOCAMM2 derzeit auf breitere Unterstützung in der Industrie stößt, könnte es für AMDs HB-DIMM zumindest im HPC- und Serverbereich schwierig werden, sich durchzusetzen.
Quelle(n)
via Techradar / Tech4Gamers / OC3D.net









