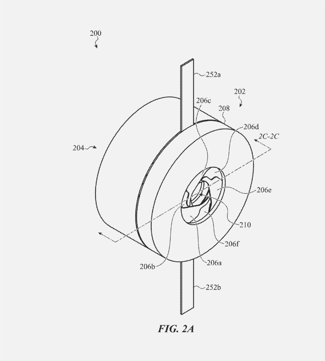
Beim United States Patent and Trademark Office (USPTO) wurde heute ein Patent veröffentlicht, das Apple am 16. Mai 2024 beantragt hat. In diesem beschreibt das Unternehmen eine Smartphone-Kamera mit mechanischen Blendenlamellen, wodurch die Blende variabel umgestellt werden kann. Apple hat gleich mehrere Mechanismen patentiert, welche Konstruktion letztendlich zum Einsatz kommt, steht also offenbar noch nicht fest.
In jedem Fall sollen die Blendenlamellen durch einen Schwingspulenaktuator bewegt werden, um im Gehäuse rund um das Objektiv bewegt zu werden. Da die einzelnen Lamellen abgerundet werden, wird auch dann eine runde Blendenöffnung gewährleistet, wenn die Blende nur teilweise geöffnet ist – das verhindert, dass Lichtquellen im Hintergrund eckige Umrisse erhalten, wenn diese nicht fokussiert sind.
Den Zeichnungen im Patentantrag nach zu urteilen, funktioniert Apples variable Blende in der Praxis ähnlich wie bei der Konkurrenz. Das unten eingebettete Video zeigt beispielsweise die variable Blende des Huawei Mate 50 Pro in Aktion, die stufenlos von f/1.4 bis f/4.0 verstellt werden kann. Weiter abzublenden ergibt wenig Sinn, da bei kleinen Smartphone-Sensoren das Beugungslimit relativ schnell erreicht ist, sodass sich eine kleinere Blendenöffnung negativ auf die Bildqualität auswirken würde.
Wie ein Blick auf den Rechner von PhotoPills zeigt, würde schon ein 21 MP Sensor im 1 Zoll Format ab f/4.0 sichtbar an Bildschärfe verlieren. Eine variable Blende erlaubt es Nutzern, für eine höhere Tiefenschärfe abzublenden, um etwa mehrere Personen, die hintereinander stehen, allesamt scharf abzubilden. Außerdem kann so die Belichtung gesteuert werden, um auch tagsüber eine längere Verschlusszeit zu ermöglichen. Gerüchten zufolge wird das iPhone 18 Pro im Jahr 2026 das erste iPhone, das eine Kamera mit variabler Blende besitzt.
















