Nachdem die Vision Pro am 5. Juni 2023 auf der WWDC vorgestellt wurde, wird es am 2. Februar 2024 endlich so weit sein: Apples AR-Brille kommt offiziell auf den Markt.
Bisher ging man davon aus, dass Eingaben im Spatial Computing, wie Apple die erweiterte Realität nennt, ausschließlich über den Kopf, die Augen, die Hände oder die Stimme erfolgen. Ein neues Patent von Apple, das am 7. Januar 2024 vom US-Patent- und Markenamt veröffentlicht wurde, lässt jedoch vermuten, dass der Hersteller ein oder mehrere Eingabegeräte für die AR-Brille plant.
Was bringt ein Eingabestift für die Apple Vision Pro?
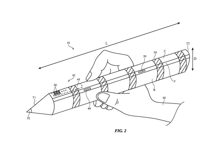
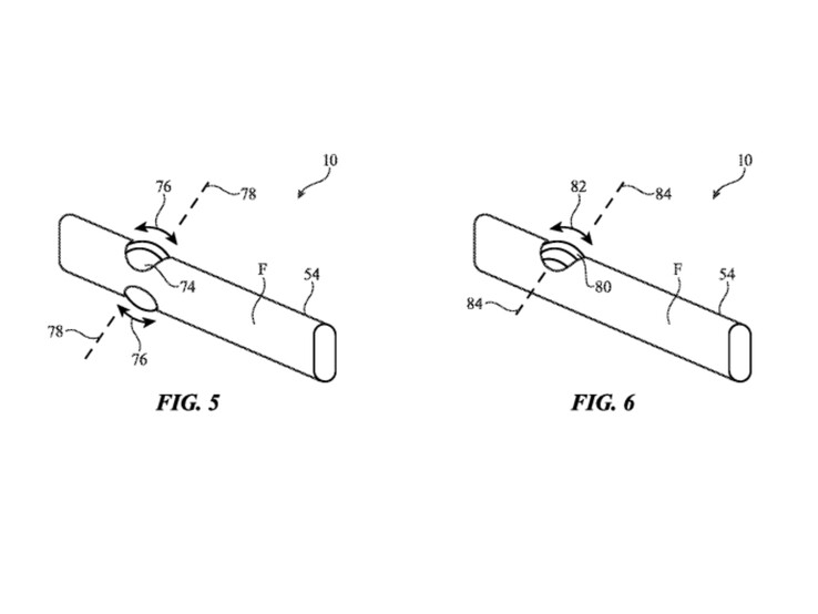
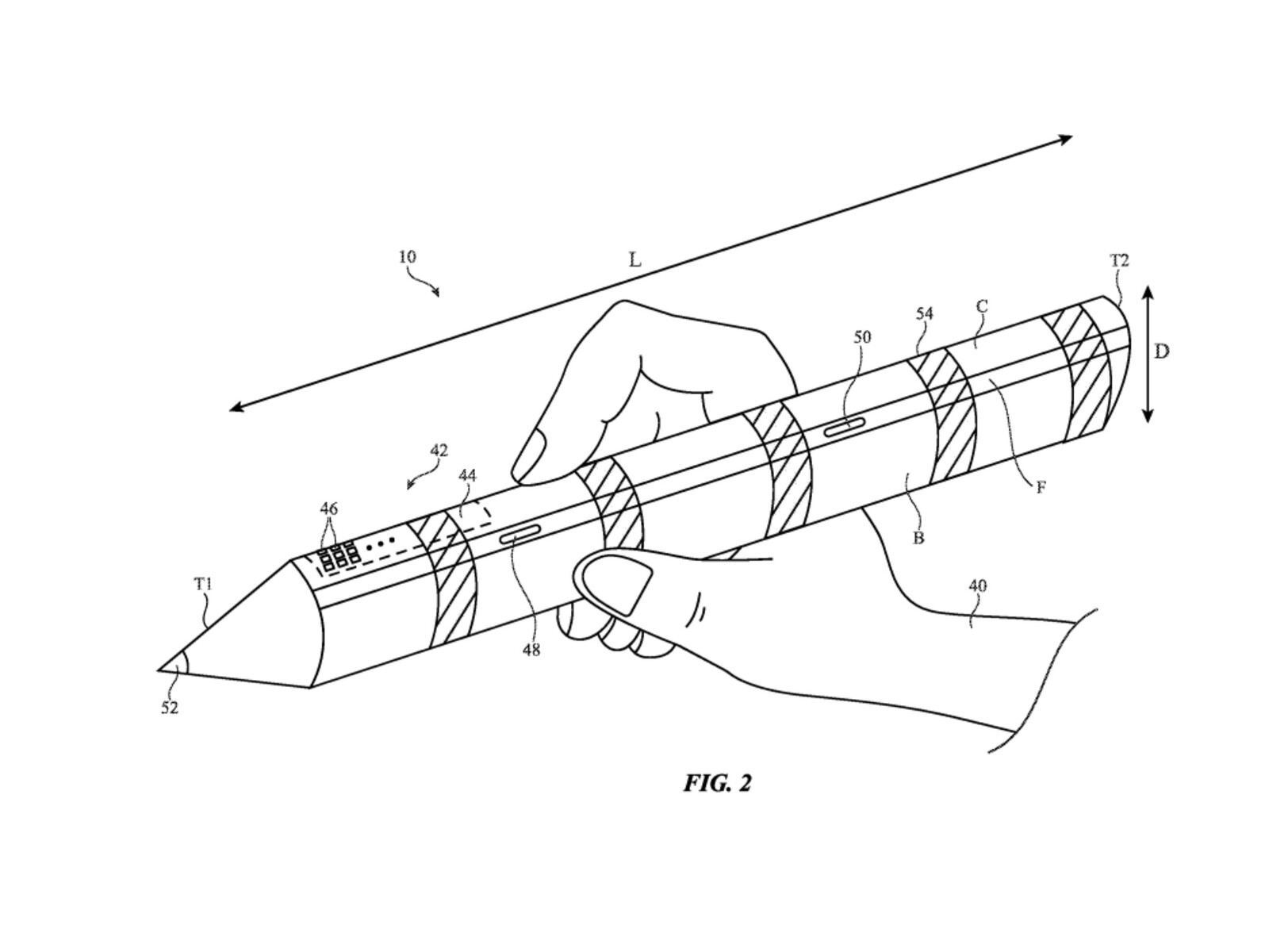
Wofür die im Patent beschriebenen Eingabegeräte genau gut sind, lässt sich bislang nur mutmaßen. Es ist jedoch wahrscheinlich, dass sie Nutzern bequemere oder präzisere Eingaben ermöglichen sollen. Vermutlich dienen die geplanten Eingabegeräte zum Schreiben, Zeichnen und Interagieren mit Objekten in der Augmented Reality. Vor allem digitale Künstler könnten davon profitieren.
So könnten Eingabestifte für die Apple Vision Pro aussehen
Das erwähnte Patent zeigt mehrere Darstellungen von möglichen Eingabegeräten für die Apple-AR-Brille:
Ein Patent garantiert keine Markterscheinung
Zu betonen ist, dass ein eingereichtes Patent nicht garantiert, dass die beschriebenen Produkte auf den Markt kommen. Ob Apple tatsächlich Eingabegeräte für die Vision Pro herausbringt, bleibt abzuwarten.
Quelle(n)
Bilder: Apple





















