Ein neues Patent, das Nintendo am 11. Mai 2023 beantragt hat, und welches das United States Patent and Trademark Office am 7. September veröffentlicht hat, belegt, dass Nintendo eine Lösung für Joy-Con Drift entwickelt hat. Das wohl bekannteste Problem der Nintendo Switch (ca. 290 Euro auf Amazon) verursacht, dass die Sticks in eine Richtung "ziehen", und so Spiele ungewollt steuern können, auch wenn diese nicht berührt werden.
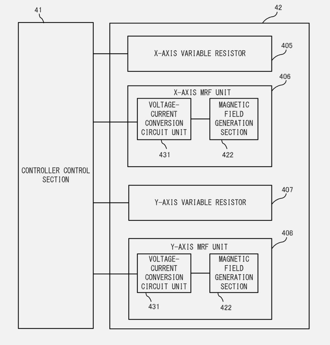
Dieses Problem könnte bei der Nintendo Switch der nächsten Generation ein für alle Mal Geschichte sein. Denn im Patent beschreibt Nintendo einen Analog-Stick, der mit sogenannter magnetorheologischer Flüssigkeit ausgestattet ist. Diese Flüssigkeit ändert ihre Viskosität je nach Intensität eines magnetischen Feldes, und dient als elektrischer Widerstand, wenn der Stick bewegt wird.
Vereinfacht ausgedrückt bringt diese Flüssigkeit den Stick zurück auf die Ausgangsposition, sobald ein Magnetfeld deren Eigenschaften verändert, während die Bewegung des Sticks ermittelt wird, indem die Veränderungen des elektrischen Widerstands gemessen werden, die durch die Bewegung der Flüssigkeit entstehen. Damit funktionieren Nintendos Analog-Sticks zwar anders als Hall-Effekt-Sensoren, nutzen aber ebenfalls Magnetfelder, um Bewegungen zu erkennen.
Somit sind diese keinem Verschleiß ausgesetzt, wodurch Drift auch nach Jahren nicht zum Problem werden sollte. Während dieses Patent zwar beweist, dass Nintendo an einer Lösung für das Problem arbeitet, steht damit noch lange nicht fest, dass derartige Sticks auch in der Nintendo Switch der zweiten Generation verbaut werden. Die nächste Spielkonsole von Nintendo soll schon im Jahr 2024 auf den Markt kommen, Nintendo sollte daher schon in wenigen Monaten Details zur Hardware enthüllen.

















