Der Nachfolger des Ultrahuman Ring Air (ca. 170 Euro auf Amazon) erhält Gerüchten zufolge einen NFC-Chip, sodass der Ring zum kontaktlosen Bezahlen an der Kasse verwendet werden könnte. Parallel dazu entwickelt Ultrahuman offenbar auch einen UVB-Sensor für einen smarten Ring, wobei noch unklar ist, ob dieser Sensor schon im Ultrahuman Ring Pro verbaut wird, oder erst in einem Produkt, das zu einem späteren Zeitpunkt auf den Markt kommen wird.
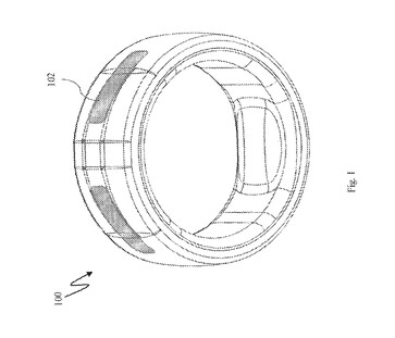
Ultrahuman hat diesen UVB-Sensor am 4. November bereits beim United States Patent and Trademark Office (USPTO) patentiert. Laut des Patents sitzt dieser Sensor an der Außenseite des Rings, um die UVB-Strahlung der Sonne zu messen. Der Sensor reagiert auf Licht mit einer Wellenlänge von 290 bis 315 nm, also eben jenem Licht, das maßgeblich für die Produktion von Vitamin D verantwortlich ist. Durch diesen Sensor kann der Ring anhand der ermittelten Strahlung berechnen, wie viel Vitamin D vom Körper produziert wird, um Nutzer frühzeitig auf einen möglichen Vitamin-D-Mangel aufmerksam zu machen, und diese aufzufordern, doch mal in die Sonne zu gehen.
Ein Vitamin-D-Mangel kann im schlimmsten Fall zu Haarausfall, Muskelschwäche, einem erhöhten Infektionsrisiko und zu Knochenschmerzen führen. Der Sensor soll es auch ermöglichen, Nutzer zu warnen, wenn die Sonnenstrahlung gefährlich wird, und zu Sonnenbrand führen kann. Für eine möglichst akkurate Berechnung soll die Software auch Faktoren wie die Hautfarbe berücksichtigen, da laut des Patents Vitamin D bei dunkleren Hauttönen langsamer produziert wird. Das Patent sieht wahlweise eine automatische Erkennung des Hauttons oder aber eine manuelle Eingabe vor.














