Patente sind für Unternehmen eine wichtige Möglichkeit, Konkurrenten an der Nutzung möglicherweise des Ergebnisses jahrelanger Entwicklungsarbeit zu hindern. Für Journalisten stellen Patente eine Gelegenheit dar, Einblick in die Entwicklungsarbeit von Herstellern zu erhalten. Dabei gilt bei Patenten insgesamt und auch bei dem erst kürzlich aufgetauchten Garmin-Patent: Dass ein Patent auch wirklich in einem Produkt umgesetzt wird, kann nicht einfach so vorausgesetzt werden - es kann sich auch um ein Sperrpatent handeln, um Mitbewerber an der Nutzung einer speziellen Technologie zu hindern. Zudem ist es nicht ausgeschlossen, dass ein Unternehmen das Interesse verliert oder sich bei der konkreten Umsetzung unlösbare Probleme ergeben.
Patent zeigt drehbare Krone
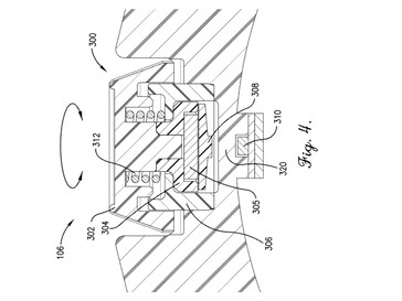
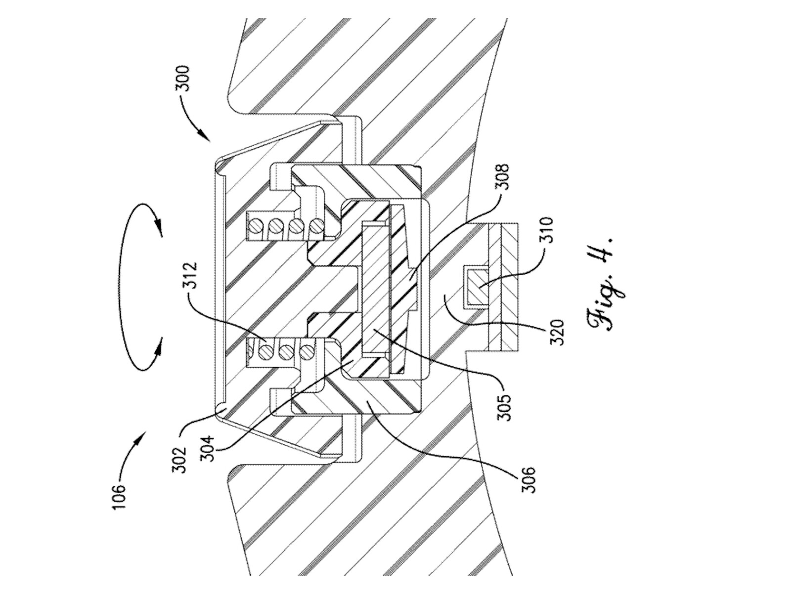
Das am 6. November 2025 veröffentlichte, aber schon im Mai beantragte Patent mit der Patentnummer US-20250341869-A1 passt dabei allerdings fast schon zu gut auf aktuelle Gerüchte, zudem ist es relativ naheliegend, dass Garmin die im Patent beschriebene Art der beweglichen Krone auch tatsächlich in einer Smartwatch nutzen will. Das Patent beschreibt die rotable control button assembly for a wearable device. Hinter einem drehbaren Knopf für eine Uhr verbirgt sich schlicht eine Krone, eine solche ist auch in anderen Smartwatches bereit vorhanden.
Hall-Sensorik verhindern potenzielle Undichtigkeiten
Dieses Eingabegerät ist damit natürlich nicht neu, allerdings soll sich eine spezielle Befestigung und auch Technik zur Auslesung ergeben. Konkret kommen ein Magnet und eine Hall-Sensorik zum Einsatz, um die Drehung der Krone auch feststellen zu können. Durch diesen Aufbau dürfte es keinen Problem mit der Dichtheit selbst unter extremen Bedingungen wie etwa beim Tauchen geben, was eben bei Smartwatches ein Problem werden können. Dabei kann durch die Hall-Sensorik nicht nur die Drehung bestimmt werden, sondern auch ein Drücken des Knopfes - wenig überraschend ändert sich die Position des Magnetfelds eben nicht nur mit der Drehung, sondern auch beim Eindrücken.
Möglicherweise in der neuen Fenix-Generation
Im Patent wird zudem eine Art taktiles Feedback beschrieben. Es ist durchaus denkbar, dass Garmin eine solche Technik in den nächsten Fenix-Modellen (Fenix 8 im Preisvergleich) verbaut. Die Bilder in der Patentschrift zeigen dabei auch eine Smartwatch, welche den Fenix-Modellen sehr ähnlich sieht.
Quelle(n)
Garmin, Patentnummer: US-20250341869-A1, abzurufen beim USPTO





























