Mit dem Apple Pencil bietet Apple für seine Tablets bereits in der zweiten Generation einen Eingabestift (Affiliate-Link) an. Dieser erleichtert insbesondere das Anfertigen von Notizen, Skizzen und auch Zeichnungen und kann dementsprechend auch kreativ genutzt werden. Ein neues Patent zeigt nun, welche Funktionen ein neuer Eingabestift aus dem Hause Apple mitbringen könnte.
So hat Patently Apple unter der Patentnummer US 20220413636 A1 ein neues Patent von Apple identifizieren können. Dieses beschreibt eine neue und in der Funktionalität wesentlich erweiterten Eingabestift für Apple-Geräte. Der neue Apple Pencil könnte dem Patent zufolge so mit einer fortschrittlichen Sensorik ausgestattet sein, welches generell gesprochen Daten aufnehmen könnte.
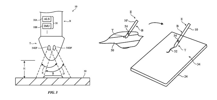
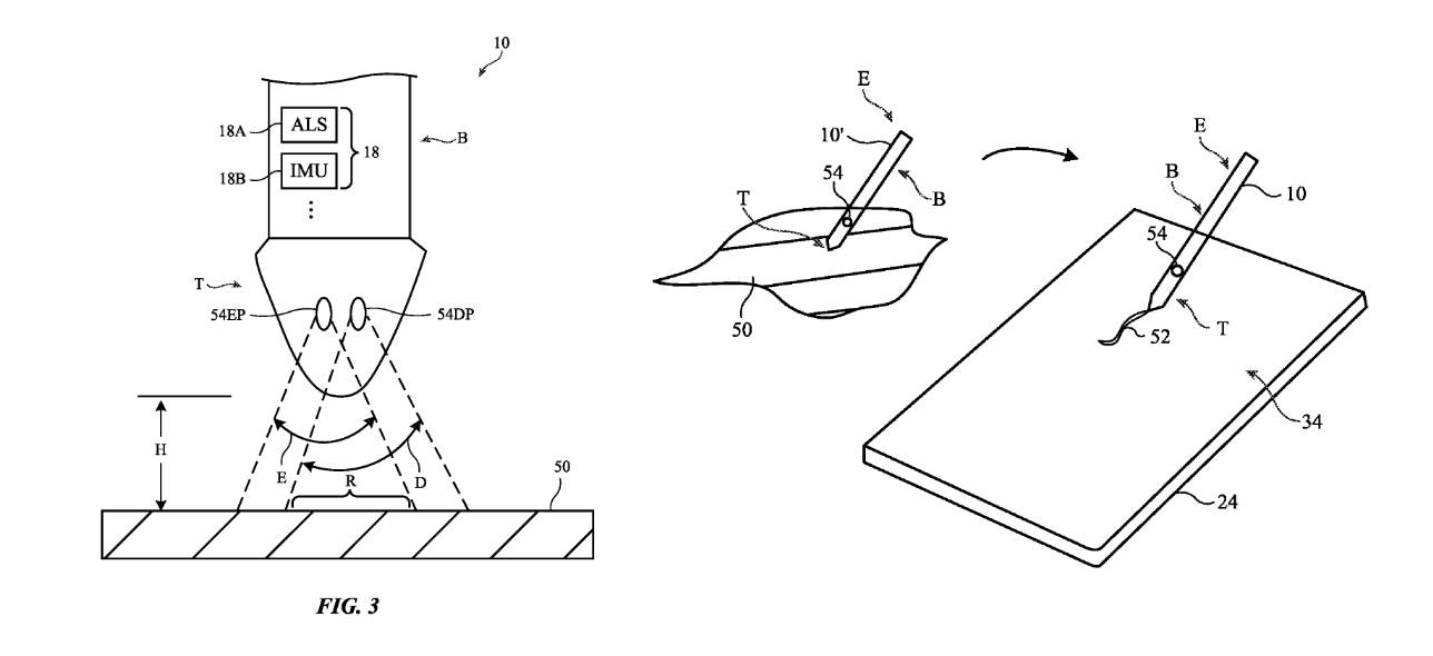
Konkret soll ein Farbsensor zur Verfügung stehen. Mit diesem soll sich die Farbe einer Oberfläche analysieren lassen, zudem könnte auch die Umgebungsbeleuchtung aufgenommen werden. Der Farbsensor selbst könnte dem Patent zufolge auch selbst Licht mit einem anpassbarem Spektrum emittieren.
Die Farbmessung könnte beispielsweise genutzt werden, um von einer Vorlage die Farbe aufzunehmen und diese direkt in einem Zeichenprogramm zu nutzen. Weiterhin ist der Stift dem Patent zufolge auch mit einer inertiale Messeinheit ausgestattet. Dieses könnte genutzt werden, um den Winkel zwischen Stiftspitze und Oberfläche zu messen. Diese Information ist etwa nutzbar, um Informationen über die Struktur der Oberfläche zu erhalten.
Aktuell ist noch völlig unklar, ob Apple diese Technik auch tatsächlich einsetzen will, in der Realität werden zahlreiche Patente insbesondere großer Technologieunternehmen nie in einem Produkt auch praktisch umgesetzt.
Quelle(n)
USPTO (via Patently Apple), Foto von Dose Media auf Unsplash


















