Garmin bietet auch Smartwatches an, die Solarzellen mitbringen. Eine solche Möglichkeit zur Solarladung kann die Laufzeit doch erheblich verlängern und je nach Nutzungsbedingungen und konkretem Modell sogar für eine faktisch unendlich langer Laufzeit sorgen. Quasi nebenbei können sich Nutzer noch über die (kumulierte) Intensität der Sonneneinstrahlung informieren lassen, wobei diese Angabe aber nicht unbedingt repräsentativ für den ganzen Körper sein muss. Garmin hat bereits zumindest die Absicht bekundet, in Zukunft auch MicroLED-Smartwatches (Fenix 8 MicroLED im Preisvergleich) mit einer Solarladung anbieten zu wollen - und arbeitet nachweislich auch an entsprechenden Produktionsverfahren.
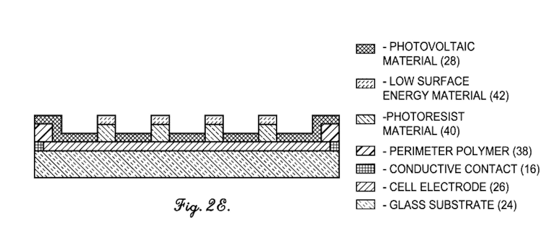
Ein nun an die Öffentlichkeit gelangtes Patent (US-0359354-A, USPTO) beschreibt im Grunde mehrere, ähnliche Herstellungsprozesse für halbtransparente Solarzellen - genau solche ließen sich eben auch in Smartwatches integrieren. Dieses Verfahren ist vereinfacht gesagt sanfter als das Ätzen entsprechender Strukturen. In einem ersten Schritt wird zumindest in einer Variation auf einem Glas-Substrat eine transparente Elektrode in der Mitte erzeugt und auch Kontakte an der Außenseite. Es findet die fotolithografische Herstellung von Säulen in einem Array statt, wobei diese einen Fotolack mit hydrophober Deckschicht erhalten.
Dieser Aufbau wird dann sozusagen mit einer PV-Lösung geflutet. Diese PV-Lösung setzt sich zwischen, aber nicht auf diesen Säulen ab - so wie Wasser von einer Autoscheibe abperlt, die entsprechend versiegelt wurde (Lotus-Effekt). Wenn diese Flüssigkeit eintrocknet, entstehen dann sozusagen Solar-Inseln. In dem Patent werden weitere Verfahren beziehungsweise Abwandlungen beschrieben, so ließen sich Garmin zufolge diese Säulen nicht nur fotolithografisch erzeugen, sondern auch prägen (Nanoimprint). Ebenfalls wäre es möglich - wenn die Säulen denn hoch genug sind - auf eine hydrophobe Deckschicht zu verzichten, da dann aufgrund der geometrischen Verhältnisse die Ablagerung der PV-Lösung auf den Säulen auszuschließen wäre. Ob das Patent in dieser Form genutzt wird, darf wie üblich bei Patenten nicht als sicher gelten.
Quelle(n)
Garmin Patent US-0359354-A, abrufbar über die USPTO-Suche, via Gadgets & Wearable
























