Die Apple Watch ist trotz - oder gerade wegen - dem eher konventionellen Design überaus erfolgreich und kann mit Features wie einem EKG aufwarten, welches einen besonders guten Einblick in die Gesundheit insbesondere des Herzens geben soll. Sowohl typisch für Smartphones als auch für Apple: Die Apple Watch ist sowohl auf Ebene der Hardware als auch auf Softwareebene geschlossen, Erweiterungen oder Reparaturen sind nicht vorgesehen.
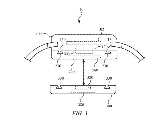
Genau dies könnte sich offenbar demnächst ändern. So wurde am 13. Februar vom US Patent & Trademark Office eine von Apple eingereichte Patentanmeldung veröffentlicht, welche ein modulares System für Smartwatches zum Inhalt hat. Konkret beschreibt das Patent die Smartwatch als aus zwei Teilen bestehend. So wird der eigentliche, den Controller enthaltene Basispart um ein ansteckbares Modul erweitert. Dabei sollen sich die Erweiterungsmodule einfach anstecken und wieder entfernen lassen.
Dabei wird ausführlich auf den Befestigungsmechanismus eingegangen, welcher im Detail unterschiedlich ausgestaltet werden könnte. Dabei soll das Gesamtsystem auch gegen den schädlichen Einfluss von Wasser geschützt werden, die Kommunikation zwischen dem Basis und dem Erweiterungsmodul könnte beispielsweise durch Federkontaktstifte hergestellt werden.
Die Unterstützung für solche Module könnte darüberhinaus auch zur Verlängerung der Akkulaufzeit bei Verzicht auf einen optischen Sensor etwa für die Bestimmung der Herzfrequenz genutzt werden. Wie üblich ist unklar, ob aus dem Patent auch eine Nutzung der beschriebenen Technologien in einem konkreten Produkt folgt - so können solche Patentanmeldungen auch als Sperrpatente dienen.














