Aktuelle Schlaftracker benötigen in den meisten Fällen einen direkten und unter Umständen störenden Körperkontakt, da sie als Fitness-Tracker am Armband ausgeführt sind - von Ausnahmen wie dem Beddit einmal abgesehen.
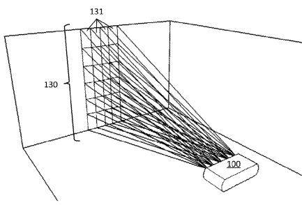
Google hat einem Patent zufolge nun eine wesentlich weniger störende Variante der Schlaf-Analyse entwickelt, die auf Infrarot-Strahlung basiert. Während ein Gerät diese auf den Schlafenden ausstrahlt, können Sensoren durch die Reflexion auf die Intensität, Häufigkeit und Dauer von Bewegungen des Schläfers schließen.
Die gemessenen Daten werden dann mit erfassten Profilen verglichen, wodurch die Schlafqualität bewertet werden soll. Darüber hinaus sollen Schlafstörungen durch Überwachung der Atem- und Herzfrequenz erkannt und dann ein Alarm ausgelöst werden.
Ob aus dem Patent tatsächlich ein Produkt wird, ist aktuell völlig unklar.
Quelle(n)
pdfaiw.uspto.gov/.aiw=http://appft.uspto.gov/netacgi/nph-Parser?Sect1=PTO1%2526Sect2=HITOFF%2526d=PG01%2526p=1%2526u=%25252Fnetahtml%25252FPTO%25252Fsrchnum.html%2526r=1%2526f=G%2526l=50%2526s1=%25252220170127980%252522.PGNR.%2526OS=DN/20170127980%2526RS=DN/20170127980








