Schon 2018 gab es Berichte über Patente, die Apple in Bezug auf die Blutdruckmessung am Handgelenk eingereicht hatte, nun verdichten sich die Hinweise auf eine möglicherweise demnächst bevorstehende Apple Watch mit kontinuierlichem Blutdruck-Monitoring aber durch weitere Patente und Trademarks. Erste Anlaufstelle für alle Anliegen in Sachen Apple Patente ist natürlich die Webseite Patently Apple.
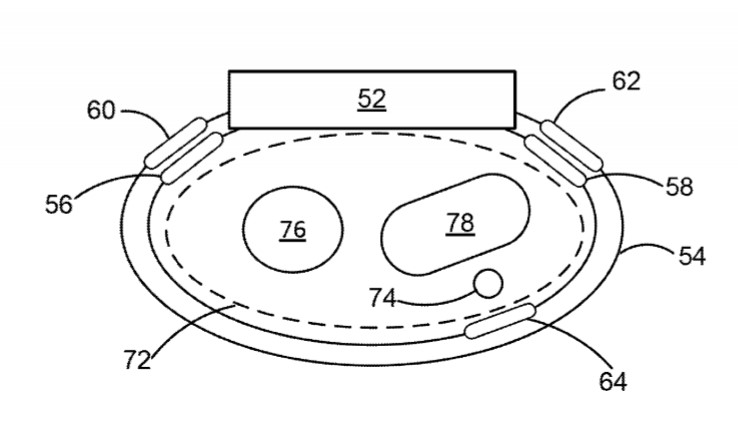
Die berichteten vor Kurzem über zwei relevante Updates bei Apple-Patenten, die zum Thema Blutdruckmessung am Handgelenk bei der USPTO eingereicht wurden (1, 2). Nicht nur das, auch ein neues Warenzeichen zu "Apple Watch Connected" wurde bei der USPTO als Trademark geschützt, welches in der Beschreibung explizit auch das Messen von Blutdruckwerten erwähnt (siehe Screenshot unten).
Kontinuierliche Blutdruckmessung mit einer künftigen Apple Watch
Das sind durchaus schon recht viele Hinweise auf ein entsprechendes Feature im Rahmen eines künftigen Apple Watch-Updates, insbesondere wenn man bedenkt, dass auch der Analyst Ming-Chi Kuo vor Kurzem über innovative Gesundheitsfeatures für die Apple Watch im Rahmen seiner letzten Analyse für Investoren sprach. Für sich genommen war zu dem Zeitpunkt noch unklar, ob sich Kuo da auf eine künftige Apple Watch 7 oder einfach nur die Apple Watch 6 mit SpO2-Sensor bezog, die Kombination der aktuellen Indizien werden jedenfalls durchaus von einigen Apple-Beobachtern als klare Hinweise auf eine anstehende neue Apple Watch mit Blutdruckmessung interpretiert, etwa Appleterm.
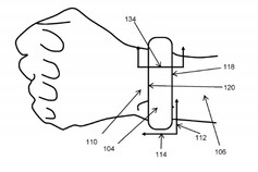
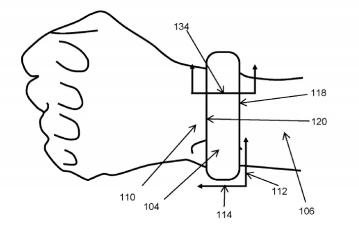
Das spannende an den beiden erwähnten Patenten ist, dass Apple hier auch ein kontinuierliches Messen des Blutdrucks vorschwebt. Das ist mit herkömmlichen Methoden im Alltag bisher eher schwierig, was jeder weiß, der schon einmal eine 24 Stunden-Messung hinter sich hatte. Das Patent "Electrical Coupling of Pulse Transit Time (PTT) Measurement System to Heart for Blood Pressure Measurement" beschreibt eine andere Methode, bei der die Apple Watch offenbar die Zeit misst, die der Puls vom Herz zum Handgelenk benötigt, was allerdings möglicherweise zusätzliche Sensoren in Herznähe erfordern würde, sofern wir die Beschreibung korrekt interpretiert haben.
Quelle(n)
USPTO (1, 2) USPTO Trademark Search


























