Samsung benennt sein 18,5:9-Display in aktuellen Galaxy-Phones zwar Infinity Display aber "unendlich" ist es bei Weitem nicht, trotz reduzierter Ränder gibt es oben und unten weiterhin schwarze Balken für die Sensoren, die Kamera und den Ohrhörer, zwecks Symmetrie an beiden Seiten. Andere Hersteller haben unterschiedliche Wege beschritten, um die Displaygröße zu maximieren, ohne auf die genannten Hardware-Elemente zu verzichten. Xiaomi beispielsweise hat den Ohrhörer im Mi Mix bereits unter das Display verfrachtet, die Kamera aber auf die vergleichsweise dicke Unterseite verlegt.
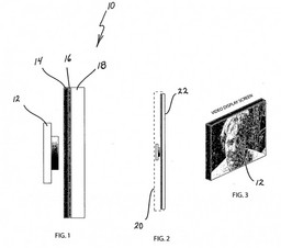
Apple hat sich beim iPhone der Zukunft bekanntermaßen für die umstrittene "Notch-Lösung" entschieden, ebenso wie Sharp beim Aquos S2 oder Essential beim Essential Phone. Samsung arbeitet aber offenbar an einem viel radikaleren Design um eine tatsächlich vollflächige Displayfront zu ermöglichen. In einem von der WIPO vergebenen Patent (PDF) zeigt Samsung ein vollflächiges Smartphone-Design in dem sämtliche Sensoren, der Ohrhörer und erstmals auch die Selfie-Kamera direkt unterhalb des OLED-Displays integriert werden. Vivo hat ja kürzlich das erste Smartphone mit direkt im Panel integrierten Fingerabdrucksensor vorgestellt, gerüchteweise wird das Galaxy Note 9 in diesem Herbst ebenfalls auf eine derartige Lösung setzen.
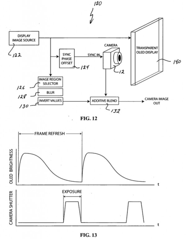
Bleibt noch die Frage, wie die Kamera unterhalb des halb-transparenten OLED-Displays funktionieren soll. Samsung will dies offenbar durch ein hochfrequentes Display-Panel erreichen, welches zwischen der Anzeige der einzelnen Frames das Auslösen der Kamera synchronisiert (siehe letztes Bild unten). Diese Technik dürfte allerdings noch nicht marktreif sein, eine Veröffentlichung im Galaxy Note 9 wäre wohl eher Wunschdenken. 2018 dürfte allerdings zumindest der im Display integrierte Fingerabdrucksensor Realität werden.
Quelle(n)
https://www.telefoonabonnement.nl/nieuws/wp-content/uploads/WO2018012719-PAMPH-108.pdf
via: https://www.gsmarena.com/samsung_patent_shows_selfie_camera_may_be_behind_the_screen-news-29217.php




















