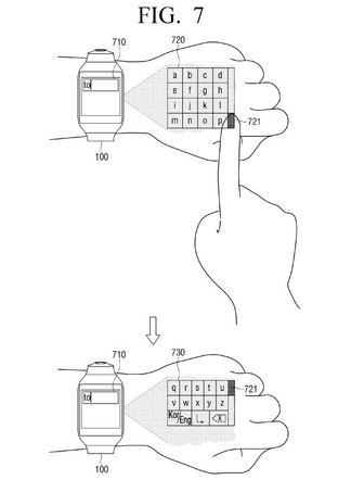
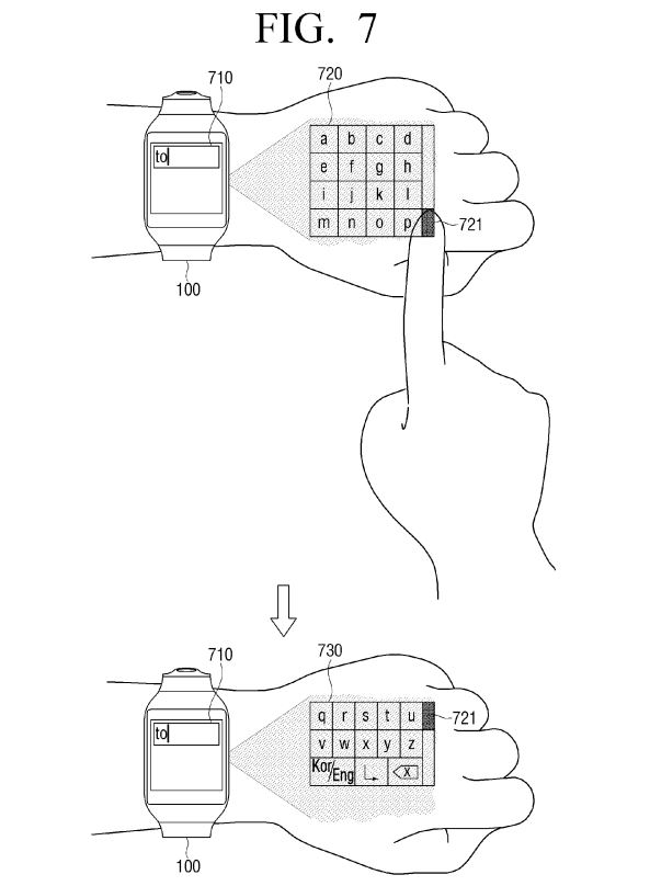
Ein Samsung Patent beschreibt eine Möglichkeit den stark limitierten Platz auf einer Smartwatch durch Projektion einer Bedienoberfläche auf Handgelenk, Unterarm oder nahe externe Flächen wie Türen zu erweitern. Das Patent basiert auf der Integration eines Projektors, einer Kamera und diverser Sensoren in die Smartwatch, welche es der Uhr ermöglichen würde, Interaktionen des Benutzers mit der erweiterten Bedienoberfläche zu registrieren und in Aktionen zu übersetzen.
Bisherige Smartwatches benutzen hauptsächlich Sprachsteuerung, Gesten oder Hardware-Elemente wie die Krone in der Apple Smartwatch um dem Platzproblem zu begegnen. Mittels Projektion auf die nahe Umgebung, könnte die UI erweitert und besser bedienbar werden. Wie aus den Bildern ersichtlich ist, könnte beispielsweise eine Tastatur, ein Keypad oder auch eine Landkarte auf die Hand beziehungsweise die Umgebung projiziert werden. Dem Patent zufolge muss diese Technologie nicht auf eine Smartwatch beschränkt sein, auch ein Head-mounted-Display wäre denkbar.





