Wenn es keine allzu großen Neuigkeiten beim nächsten iPhone 7 gibt, wirft man den Blick eben weiter in die Zukunft. Nicht nur Samsung und Lenovo experimentieren offenbar mit flexiblen Displays, auch Apple wird in letzter Zeit immer wieder mit revolutionären neuen Gehäuse- und Display-Designs in Verbindung gebracht, wenngleich der kalifornische Konzern bislang offenbar noch keine Ambitionen in Bezug auf tragbare oder zusammenklappbare Smartphones zeigt wie eben Samsung oder Lenovo. Gerüchten zufolge soll schon das übernächste iPhone ein revolutionäres neues Design erhalten, Apple steht demnach schon mit der Zulieferindustrie in Verhandlungen, um genügend gekrümmte OLED-Displays für das vermutlich iPhone 8 genannte Smartphone des Jahres 2017 zu erhalten.
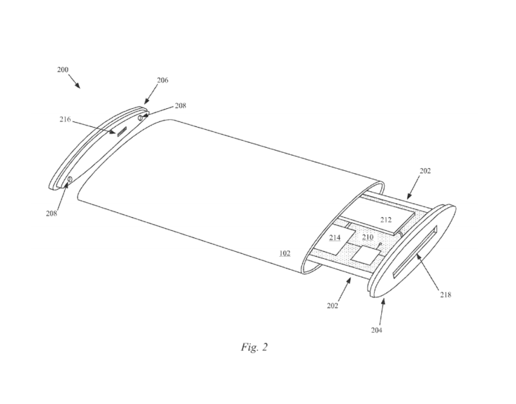
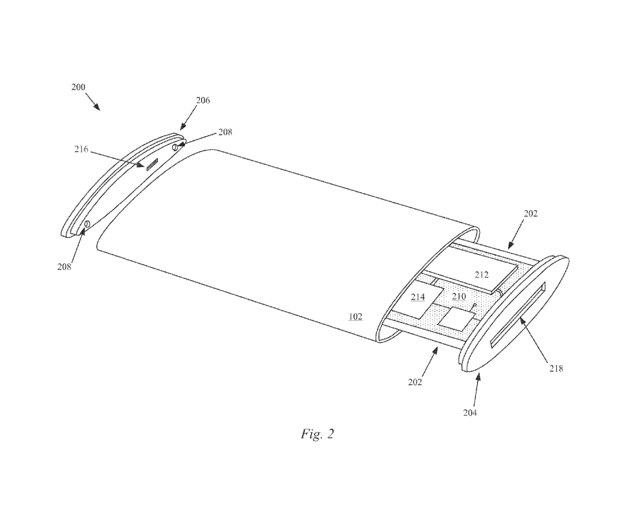
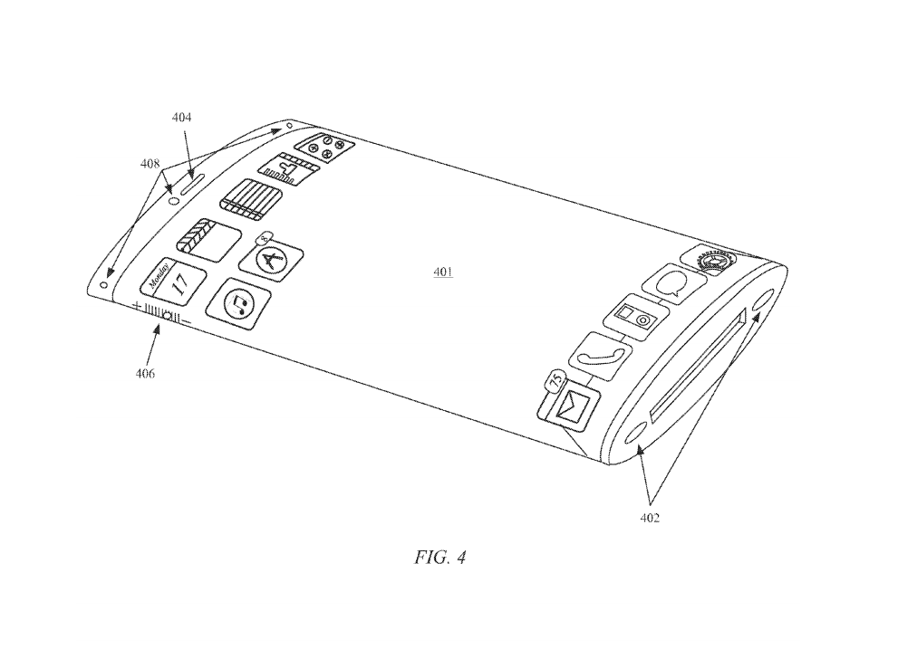
Wenn auch reinste Spekulation, könnte bei einem der zukünftigen iPhones zumindest teilweise ein Patent aus dem Jahre 2011 zur Anwendung kommen, welches Apple 2014 zugesprochen bekam und letzte Woche veröffentlicht wurde. Das Patent beschreibt ein Rundum-Display aus flexiblem Material, welches unter einer Glasschicht angebracht wird, die stellenweise, je nach Anforderung durchsichtig oder undurchsichtig sein kann. Nachdem das Patent im Jahr 2011 eingebracht wurde, wird OLED nicht explizit erwähnt, es dürfte aber klar sein, dass diese Art Display derzeit nur mit OLED-Panels machbar wäre. Dem Erstellungsdatum des Patents ist wohl auch der abgebildete 30-pin Konnektor zuzuschreiben, der Lightning Port wurde erst 2012 eingeführt.
Das Patent beschreibt nicht nur die Rundum-Glas-Technologie sondern auch eine Möglichkeit, physikalische Tasten und Schalter durch virtuelle Schieberegler und Buttons zu ersetzen. Dies könnte die Lautstärke-Tasten, den Home-Button sowie den Mute-Schalter betreffen. Ein zweites Bild zeigt die Möglichkeit, den unteren Teil abzunehmen und modular zu gestalten. Das erinnert stark an das LG G5 Design, welches auf diese Art eine austauschbare Batterie sowie Addon-Module bereitstellen kann. Wie viel von diesem Patent, wenn überhaupt, in zukünftigen iPhone-Designs zu finden sein werden, ist natürlich nicht vorhersehbar.
Quelle(n)
http://patft.uspto.gov/netacgi/nph-Parser?Sect1=PTO2&Sect2=HITOFF&p=1&u=%2Fnetahtml%2FPTO%2Fsearch-bool.html&r=1&f=G&l=50&co1=AND&d=PTXT&s1=9,367,095&OS=9,367,095&RS=9,367,095
www.macrumors.com/2016/06/14/apple-patent-iphone-wraparound-glass-display/


