So ziemlich jeder Smartphone-Hersteller muss sich mehr oder weniger häufig mit Akkuproblemen herumschlagen, die Handykäufer unter Umständen irgendwann heimsuchen. Neben dem auch bei qualitativ hochwertigen Akkus üblichen Verschleiß können verschiedene Ursachen zu teilweise sehr gravierenden Problemen mit den wiederaufladbaren Batterien führen. Manchmal sind solche "Batterygates" sogar richtig gefährlich und führen zu Verletzungen oder sogar zu Bränden.
Vergleichsweise häufig berichten Handybesitzer bei Lithium-Ionen-Akkus immer wieder von "aufgeblähten Akkus". Dieses Phänomen kann verschiedene Ursachen haben wie zunehmende Alterung oder Beschädigung (Ausgasung). Oftmals drückt der kaputte Akku dann auf Komponenten, das Display oder drückt das Gehäuse auf. Dann ist Vorsicht geboten, der Akku könnte tatsächlich explodieren. Einem Bericht von Apple Insider zufolge hat Apple jetzt zwei Patente beantragt, um dieses Problem frühzeitig zu erkennen und dabei auch noch die Größe der Batterien zu reduzieren.
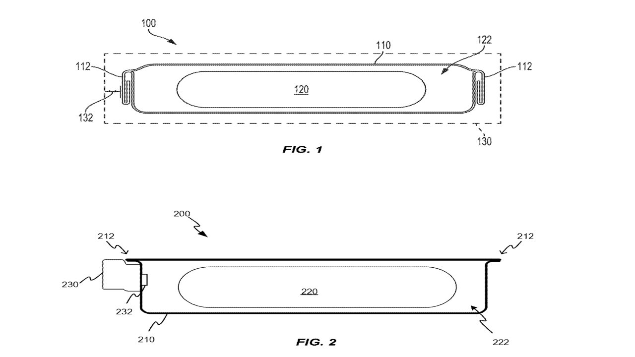
Das erste Patent von Apple beschreibt unter anderem die Verwendung einer Metallschale, die um das Batteriegehäuse herum platziert wird. Diese ist geerdet und soll es ermöglichen, dass Komponenten näher an den Akku gepackt werden können. Das soll die Wahrscheinlichkeit einer Beschädigung angrenzender Teile verringern, selbst wenn sich die Batterie aufbläht. Das zweite Patent beschreibt die Verwendung mehrerer Lösungen zur Erkennung und Abschwächung des Akku-Bläheffekts.
Sobald eine Ausdehnung von einem Sensor erkannt würde, soll ein mit dem Sensor gekoppelter Prozessor bestimmen, wie das Aufblähen verlangsamt oder verhindert werden kann. Dies könnte durch das Anpassen der Ladung oder Entladung des Akkus in Abhängigkeit von registrierten Parametern geschehen. Das Patent beschreibt auch die Verwendung mehrerer verschiedener Sensoren, die auf Dehnung, akustische Resonanz, Licht, Kontakt oder Druck reagieren.

























