Amazon tüftelt seit längerem mit der Auslieferung von Bestellungen mittels autonomen Drohnen und hat bereits in Großbritannien erste Lieferungen vorgenommen.
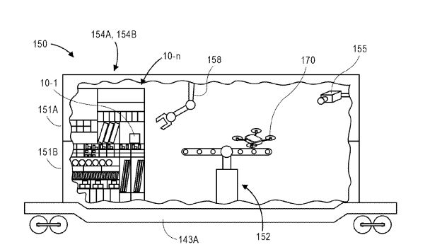
Ein neues, von Business Insider gefundenes Patent zeigt nun, wie in Zukunft die Auslieferung auch von mobilen Drohnen-Hubs gelingen könnte. So beschreibt Amazon Container, die via Zug, Containerschiff oder Sattelzugmaschine transportiert werden können. In diesen ist ein System untergebracht, um Lieferdrohnen mit auszuliefernden Artikeln beladen zu können.
Start und Landung der Drohnen sollen auch während der Fahrt geschehen können, im Inneren des Containers sollen etwa die Batterien der Fluggeräte gewechselt werden können. Defekte Drohnen könnten dem Patent zufolge ebenfalls repariert werden.
Ob das Patent tatsächlich umgesetzt wird, ist aktuell völlig unklar, allerdings würden solche mobilen Hubs die Möglichkeit bieten, etwa auf saisonal bedingt erhöhte Bestellaufkommen zu reagieren oder in Ballungszentren hohe Gebäudemieten sparen.













