Die Abkehr vom althergebrachten Klinkenstecker hin zum USB Typ C-Anschluss ist durchaus umstritten: Aktuell benötigen das Groß der Nutzer noch Adapter, da Typ C-kompatible Kopfhörer noch nicht sehr weit verbreitet sind.
Allerdings ist der Klinkenstecker tatsächlich vergleichsweise hoch (3,5 Millimeter statt 2,5 Millimeter bei Typ C) und damit nur schwierig in sehr flache Smartphones integrierbar.
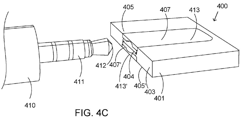
Das bereits erteilte Microsoft-Patent beschreibt nun eine sich erweiternde Klinkenbuchse. So soll sich entweder eine Membran oder eine Metalhalterung durch den eingesteckten Klinkenstecker verbreitern und durch die Spannung den Stecker gleich in der Buchse halten. Die Technik könnte ein- oder beidseitig eingesetzt werden, wodurch eine enorme Ersparnis in der Höhe möglich wäre.
Wie immer bei Patenten ist fraglich, ob die Technik tatsächlich jemals den Weg in ein finales Produkt findet.

















