Smartwatches werden global und auch in Deutschland immer beliebter, da sie doch einige Vorteile gegenüber der klassischen Uhr bieten. Allerdings nutzen wahrscheinlich die wenigsten Nutzer wirklich häufig den Touchscreen vieler Smartwatches. Gerade wenn man etwas breitere Finger hat, können die kleinen Symbole und die teils komplexen Menüs einen doch dezent in den Wahnsinn treiben.
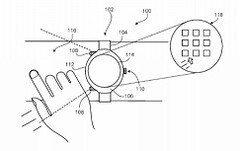
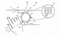
Dementsprechend hat Google möglicherweise versucht, dieses Problem durch ein Patent zu lösen, das jetzt in den Archiven des United States Patent and Trademarks Office (USPTO) entdeckt wurde. Es schlägt vor, die Bewegungssensoren einer Smartwatch zu benutzen, um die Gesten und Bewegungen, die auf den unmittelbaren Seiten des Gerätes passieren, zu scannen. Dies könnte es der Uhr ermöglichen, eine Tastatur oder ein Keypad zu emulieren, die der Nutzer dann durch seine Bewegungen auf dem Unterarm bedienen kann. Mit anderen Worten, der Arm würde zu einer Art Touchpad für die Smartwatch werden.
Dem Patent zufolge kann auch die Projektion von wählbaren Zeichen oder Optionen auf den Arm des Benutzers erfolgen, so dass die Tastatur oder das Touchpad benutzerfreundlicher und präziser wird. Andererseits wurden in der Vergangenheit ähnliche Konzepte tatsächlich schon in Smartwatches mit Hilfe von kleinen Beamern umgesetzt. Ein Beispiel, die LumiWatch, wurde von der Presse äußerst schlecht aufgenommen. Wenn man bedenkt, dass das gerade gefundene Patent von Google zu dieser Technologie auf 2016 datiert ist, hat der Konzern die Idee vielleicht schon aufgegeben, was ausgesprochen schade wäre.
Loading Comments
Nachdem ich mich schon von klein auf (teilweise sehr zum Leidwesen meiner Eltern) für das Innere von Desktop-PCs und Notebooks interessiert habe, begann ich im Jahr 2016 als freier Mitarbeiter bei Notebookcheck für das Newssegment zu schreiben. Seitdem bin ich mit dabei und studiere parallel dazu derzeit Wirtschaftsinformatik an der Universität Osnabrück.
> Notebook Test, Laptop Test und News > News > Newsarchiv > News 2018-12 > Patent von Google macht den Unterarm zum Smartwatch-Touchpad
Autor: Cornelius Wolff, 2.12.2018 (Update: 18.02.2026)
















