Apple klaut hier scheinbar ein wenig von der Konkurrenz. Denn ähnlich wie im Suface Neo von Microsoft schwebt Apple die Benutzung mehrerer iPhones oder iPads als Konfiguration mit mehreren Bildschirmen vor. Daher hat das Unternehmen auch ein entsprechendes Patent beantragt. Dieses stammt von 2017, wurde nun aber vom US-Patentamt online gestellt.
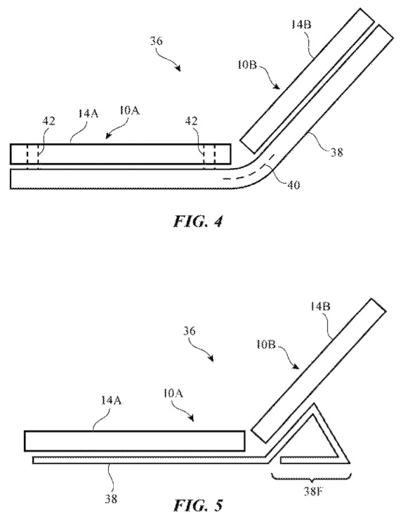
Beide Geräte sollen sich in eine spezielle Hülle einlegen lassen,welche das Aufklappen in verschiedenen Winkelstellungen ermöglicht und so mehrere Anwendungsfälle bereitstellen soll. Denkbar ist demnach beispielsweise eine Verwendung als Laptop, wobei das eine iPhone als Tastatur dient und das andere iPhone als Bildschirm. Womöglich wird auch ein Magenthalter zum Koppeln mit anderen Apple-Geräten eingesetzt.
Ob es sich bei dem Patent tatsächlich um eine Idee handelt, welche Apple auch zu einem Produkt gedeihen lässt, ist natürlich unklar. Dennoch wäre es heutzutage nicht unwahrscheinlich, wenn auch Apple ein Gerät mit Dualdisplay plant, welches kein flexibles Faltpanel benötigt und sich zudem auch noch in zwei einzelne Geräte aufteilen lässt.
Loading Comments
Ein C64 markierte meinen Einstieg in die Welt der PCs. Mein Schülerpraktikum verbrachte ich in der Reparaturabteilung eines Computerladens, zum Abschluss durfte ich mir aus “Werkstattresten” einen 486er PC selbst zusammenbauen. Folglich begann ich später ein Informatikstudium an der Humboldt-Uni in Berlin, Psychologie kam hinzu. Nach meiner ersten Arbeit als wissenschaftlicher Mitarbeiter an der Uni ging ich für ein Jahr nach London und arbeitete für Sega an der Qualitätssicherung von Computerspielübersetzungen, u.a. an Spielen wie Sonic & All-Stars Racing Transformed oder Company of Heroes. Seit 2017 schreibe ich für Notebookcheck.
> Notebook Test, Laptop Test und News > News > Newsarchiv > News 2020-03 > Apple-Patent: 2 iPhones arbeiten zusammen als 1 Gerät mit zwei Bildschirmen
Autor: Christian Hintze, 11.03.2020 (Update: 18.02.2026)
























