Nachdem Patentlyapple.com in der vergangenen Woche mit der Headline für Schlagzeilen sorgte, dass Apple offenbar daran arbeitet, die digitale Krone (Digital Crown) der Apple Watch durch ein optisches System zu ersetzen, haben die Patentfüchse offenbar eine weitere Anmeldung von Apple gewittert und ausgegraben.
Dieser Patentantrag von Apple befasst sich mit einer Doppelfunktion der Digital Crown als Touch ID-Sensor und Steuer- und Bedienelement der Apple Watch. Der Patentantrag wurde bereits im November 2018 eingereicht und am 6. Februar 2020 vom United States Patent and Trademark Office (USPTO) veröffentlicht.
Wir erweitern unser News & Magazin-Team und suchen Verstärkung im Bereich E-Mobility und Science.
Details
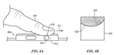
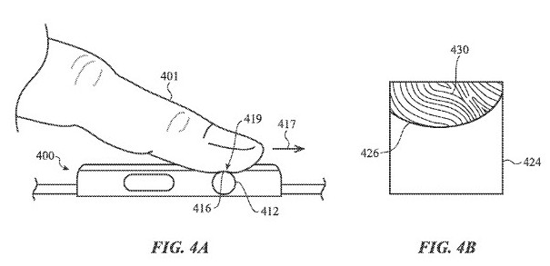
Laut der Patentschrift kann die neue Krone für den Einsatz in einer künftigen Apple Watch unter anderem über ein optoelektronisches System die Merkmale der Haut eines Benutzers wie Fingerabdrücke, Haarfollikel oder andere optisch erkennbare Merkmale, Textur sowie Oberflächenunregelmäßigkeit erkennen. Der Sensor soll auf Eingaben über Haut (Finger), Stift, Handschuhe oder andere Objekte mit optisch erkennbaren Merkmalen reagieren.
Die Abbildungen des Patents verdeutlichen, dass diese Digital Crown als Touch-ID-Sensor fungieren könnte. Derzeit gibt es zwei Möglichkeiten die Apple Watch zu entsperren: Entweder über die PIN-Eingabe auf der Apple Watch oder über ein mit der Uhr gekoppeltes iPhone.


























