Jeder, der 2019 etwas im Smartphone-Markt zu sagen hat, wartet mit entsprechenden Falt-Konzepten auf oder lässt zumindest wissen, dass man daran arbeite. Nach dem überraschenden Vorreiter Flexpai von Royole und den Teasern von Samsung, Xiaomi und Huawei, die wohl alle noch in diesem Jahr mit ersten faltbaren Smartphones auf den Markt kommen werden, gab es auch von Lenovo, Motorola, LG, Nubia, TCL und Oppo entsprechende Bekundungen oder Leaks - ohne Falt-Handy ist man als Smartphone-Hersteller 2019 offenbar einfach nicht mehr am Puls der Zeit.
Apple erweitert ein Patent mit neuen Skizzen
Auffällig ruhig ist Apple in dieser Hinsicht - sicher, es gab den einen oder anderen inoffiziellen Hinweis aber mit Teasern hält man sich in Cupertino lieber zurück. Das bedeutet aber nicht, dass Tim Cook nicht entsprechende Pläne hat, sein gerade von Käufern etwas verschmähtes iPhone durch ein flexibles Display aufzupeppen. Seit 2011 sammelt das Apple-Team diverse Pläne in einem Patentantrag, der bereits 2016 einmal upgedatet wurde und nun erneut um jede Menge Skizzen und Ideen erweitert wurde.
Kurz vor Samsungs und Huaweis ersten Falt-Handys
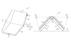
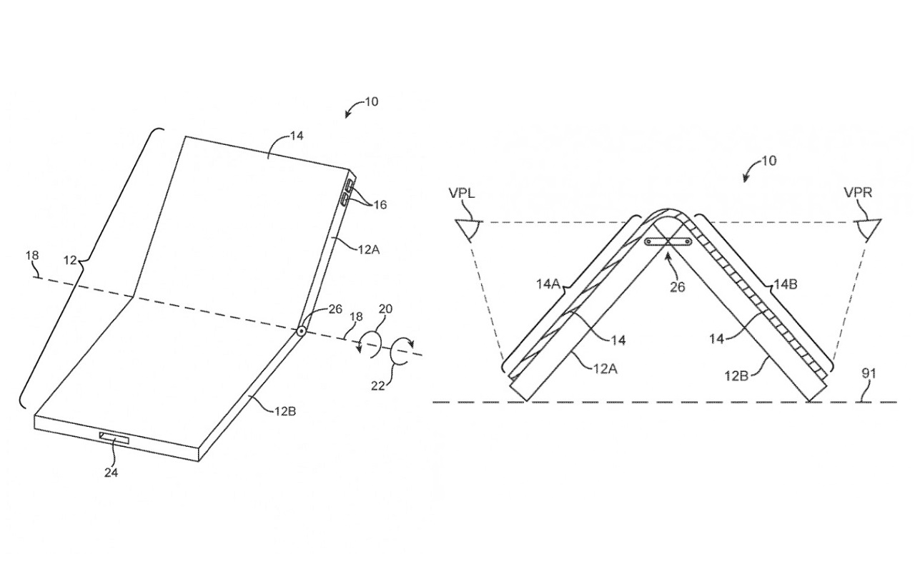
Spannend ist vor allem das Timing dieses Updates, denn kommende Woche wird Samsung neben dem Galaxy S10 sein erstes faltbares Galaxy-Phone am Unpacked-Event enthüllen, Huawei folgt dann nächstes Wochenende am Mobile World Congress. Was Apple in seinen vielfältigen Skizzen zeigt, ist in jedem Fall als umfassend zu bezeichnen. Neben dem auch von Motorola aufgegriffenen Klapphandy-Konzept (siehe oben), zuletzt etwas auch als Video visualisiert, liefern Apples Ingenieure auch jede Menge anderer Ideen.
Viele unterschiedliche Ideen für faltbare iPhones
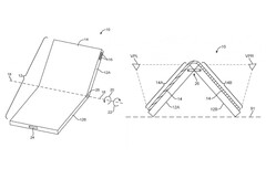
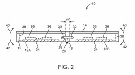
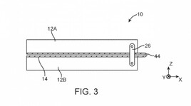
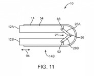
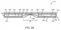
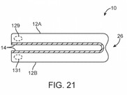
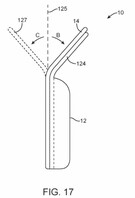
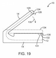
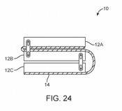
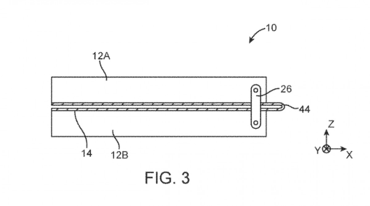
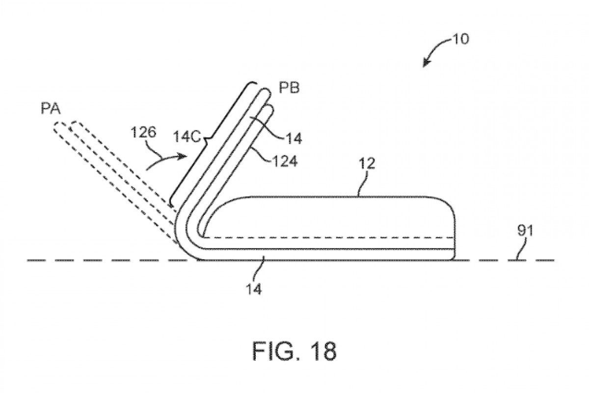
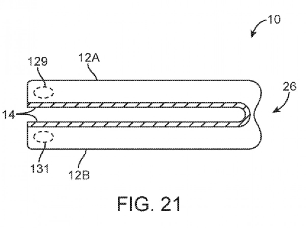
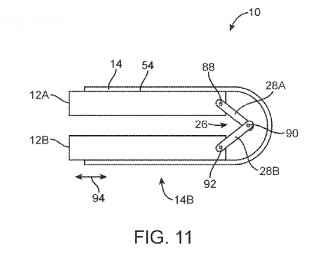
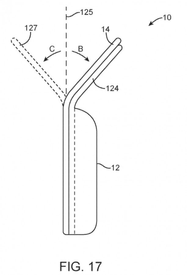
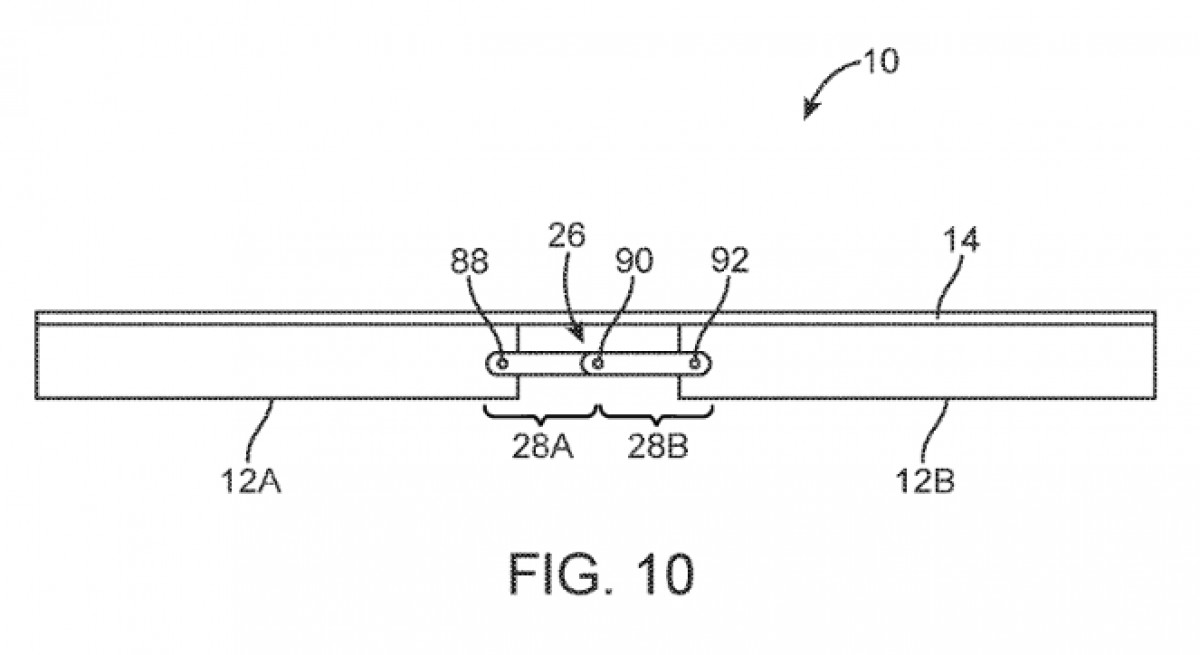
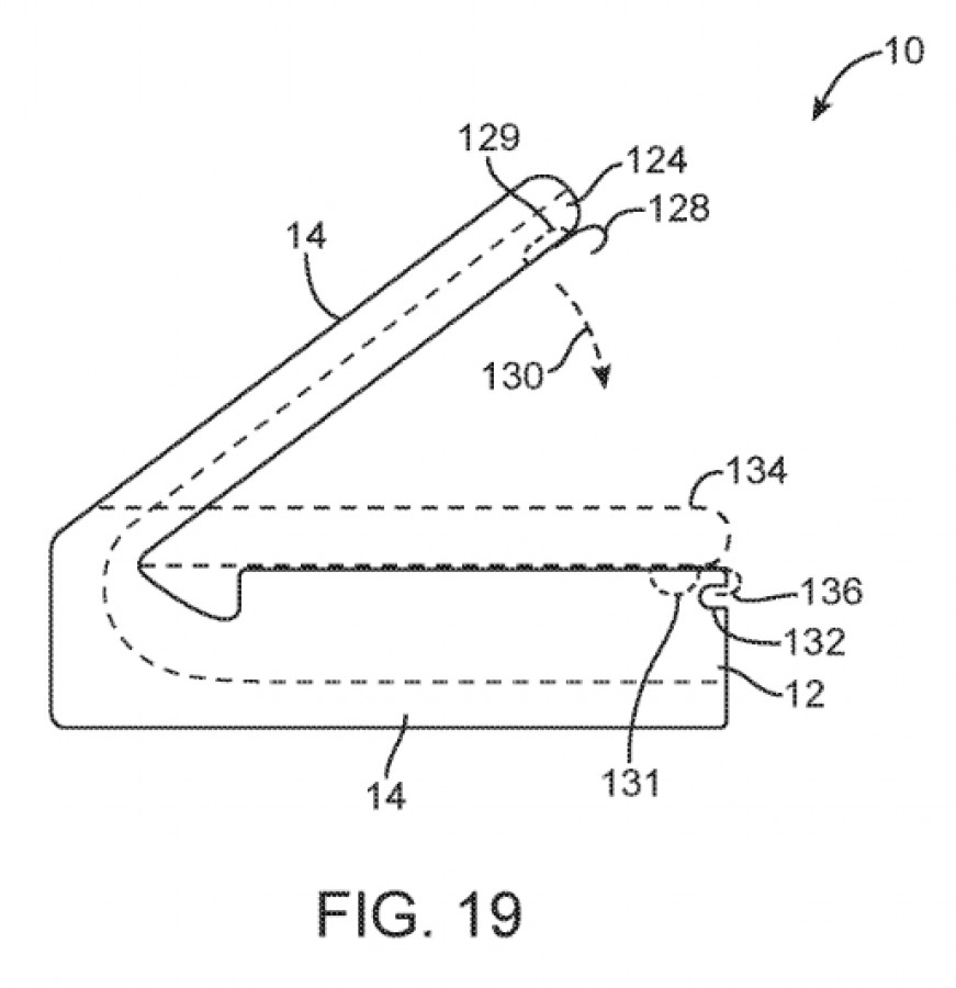
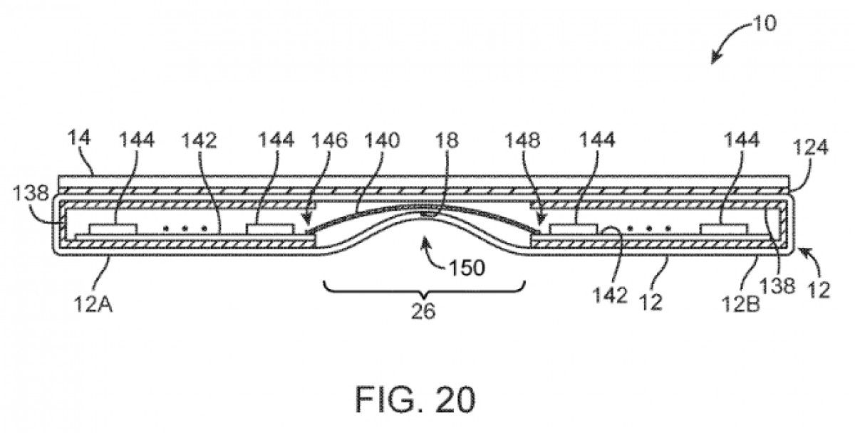
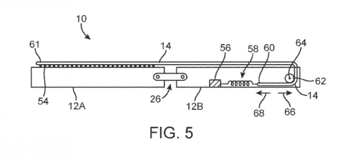
Da wäre sowohl ein nach innen als auch ein nach außen faltbares Design, sprich das Display ist einmal innen und einmal an der Außenseite angebracht, wobei Apple hier offenbar mit verschiedenen Winkeln und Materialien experimentiert - bekannterweise ist es aktuell schwierig, das Scharnier so zu gestalten, dass im zusammengefalteten Zustand keine Lücke verbleibt. Etwas ungewöhnlich wirken dann die letzten Bilder unten, denn hier arbeitet Apple auch mit asymmetrischen Designs, beispielsweise einem Tri-Fold-Design, welches wie ein Sandwich übereinander zusammengeklappt wird.
Auch Tri-Fold-Designs für ein vielleicht faltbares iPad
Letzteres könnte Apple beispielsweise auch für ein künftiges faltbares iPad mit flexiblem Display verwenden, welches sich in drei Teile zusammenfalten ließe um so deutlich dicker aber dafür kompakter zu werden. Vor 2020 wird man all diese Ideen aber kaum in Form eines fertigen Produkts sehen und das ist schon äußerst optimistisch spekuliert - Apple lässt den anderen vermutlich erstmal den Vortritt und wird erst dann mitspielen, wenn die ganzen Falt-Konzepte ausgereifter sind.































