Erst 2019 könnte das neuartige Gerät tatsächlich am Markt verfügbar sein, möglicherweise bereits im nächsten Jahr. Und auch eine völlige Einstellung der Bemühungen sind nicht ausgeschlossen, zumal Microsoft sich im Mobilbereich ja bekanntemaßen schwer tut. Nichtsdestotrotz tauchen mit schöner Regelmäßigkeit neue Informationen oder Gerüchte zu einem faltbaren Tablet/Phone auf, das bei Microsoft nun schon länger unter dem Codenamen Andromeda entwickelt wird.
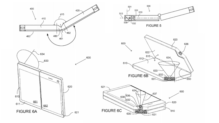
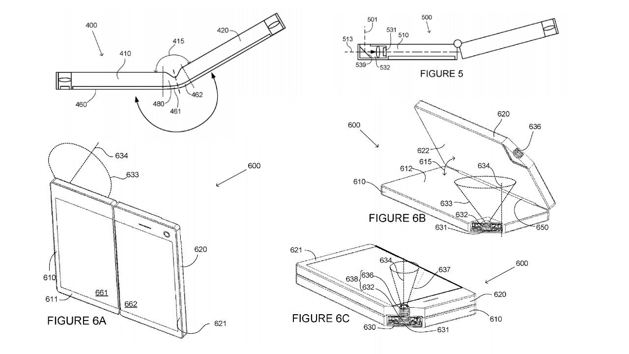
In den letzten Tagen sind erneut Patente in Bezug auf das neuartige Gerät aufgetaucht (siehe unten), das möglicherweise einmal im Rahmen der Surface-Familie verkauft wird. Die Bilder zeigen unterschiedliche Formfaktoren, einmal eher als faltbares Tablet mit zwei separaten Displays, einmal mit offensichtlich flexiblem Display. Auch Kamerafeatures werden hier bereits recht detailliert dargestellt und zwar als eine Art Zoom-Linse mit unterschiedlicher Brennweite. Die Patente stammen allerdings noch aus dem Jahr 2016 und sind vom Nokia-Imaging-Team wie Thurrott.com schreibt.
Viele der im Patentantrag erwähnten Techniker arbeiten also nicht mehr bei Microsoft, was möglicherweise den Fokus des Geräts zukünftig verschiebt. Mit Windows 10 auf ARM und Snapdragon-Prozessoren von Qualcomm als energiesparender Antrieb mit LTE-Modem könnte Microsoft dennoch bald auch im Mobilbereich wieder Akzente setzen. Das "Surface Phone" hat durchaus reale Chance auf Verwirklichung, wenngleich Microsoft hier wohl eher ein produktiv nutzbares Tablet entwickelt als eine Smartphone-Alternative zu Android-Smartphones oder iPhones.























