Notebookcheck Logo
   
   
    settings einschränken
Seitentyp
Mit folgenden Einschränkungen können sie den Typ des Artikel auswählen. Da jeder Artikel nur einen Typ zugewiesen hat, führt das Auswählen mehrerer Typen zu einer "oder" Verknüfpung.
, , , , , , ,
, , , , , , , , , , , , , , , , , , , , , , , , , , ,    
Tags / Kategorien
Mit folgenden Einschränkungen können Sie die verknüpften Kategorien auswählen. Da jedem Artikel mehrere Kategorien zugewiesen werden können, gibt es noch die Möglichkeit die Auswahl mit "und" (Standard) oder zu verknüpfen.
, , , , , , , , , , , , , , , , , , , , , , , , , , , , , , , , , , , , , , , , , , , , , , , , , , , , , , , , , , , , , , , , , , , , , , , , , , , , , , , , , , , , , , , , , , , , , , , , , , , , , , , , , , , , , , , , , , , , , , , , , , , , , , , , , , , , , , , , , , , , , ,    
Suche
In folgendem Feld können Sie nach einem Textteil im Artikeltitel suchen. 
NVIDIA GeForce GTX 1070 Ti (Desktop) GPU - Benchmarks und Spezifikationen

NVIDIA GeForce GTX 1070 Ti (Desktop) GPU - Benchmarks und Spezifikationen

2432 Pascal cores @ 1607MHz, 256 Bit GDDR5 @ 8000MHz
Spezifikationen und Benchmarks der NVIDIA GeForce GTX 1070 Ti (Desktop) Grafikkarte für Desktops.
Raijintek: Drei neue Glas-Gehäuse vorgestellt

Raijintek: Drei neue Glas-Gehäuse vorgestellt

Raijintek hat drei neue Gehäuse in unterschiedlichen Formatfaktoren vorgestellt. Allen gleich: Der großzügige Einsatz von Glas.
Silvio Werner, 02 Nov 2017 12:37
Windows 10: Kostenloses Upgrade nur noch bis Ende 2017?

Windows 10: Kostenloses Upgrade nur noch bis Ende 2017?

Microsoft wird in diesem Jahr das kostenlose Windows 10-Upgrade für Nutzer von Hilfstechnologien beenden.
Silvio Werner, 02 Nov 2017 11:52
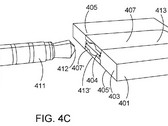
Microsoft-Patent: Klinkenanschluss für extrem dünne Geräte

Microsoft-Patent: Klinkenanschluss für extrem dünne Geräte

Microsoft hat vor kurzem ein Patent bewilligt bekommen, welches dank flexibler Halterung die Integration eines 3,5-mm-Klinkenanschluss auch in kompakten Geräten ermöglicht.
Silvio Werner, 02 Nov 2017 11:47
Test Lenovo ThinkPad L470 (i5-7200U, FHD-IPS) Laptop

85% Test Lenovo ThinkPad L470 (i5-7200U, FHD-IPS) Laptop

Graue Maus mit Legacy Features. In Lenovos breitem Lineup von 14-Zoll-ThinkPads platziert sich das L470 im unteren Mittelfeld: unterhalb der T-Serie, aber oberhalb der E-Serie. Warum das günstige Business-Notebook durchaus zu empfehlen ist und welche Vorzüge es gegenüber den anderen Modellen hat, lesen Sie in unserem ausführlichen Testbericht.
Intel Core i5-7200U, HD Graphics 620, 14", 1.9 kg
Benjamin Herzig, 02 Nov 2017 09:40
Garmin und Polar: Vier Fitnesstracker im Test

Garmin und Polar: Vier Fitnesstracker im Test

Wir testen insgesamt vier Fitness-Uhren der Hersteller Garmin und Polar. Die Aufzeichnungsqualität der Geräte überzeugt, bisweilen bieten diese auch weitergehende Funktionen. Im Test: Garmin Forerunner 935, Garmin Forerunner 35, Polar M400 und Polar M200.
Silvio Werner, 02 Nov 2017 09:21
Server-CPU: AMDs Epyc mit bis zu 64 Kernen soll 2018 erscheinen (Symbolfoto)

Server-CPU: AMDs Epyc mit bis zu 64 Kernen soll 2018 erscheinen

Einem Medienbericht zufolge soll AMD bereits 2018 Epyc-Prozessoren mit bis zu 64 Rechenkernen ausliefern.
Silvio Werner, 02 Nov 2017 08:32
Das neue HTC-18:9-Flaggschiff U11+ kommt auch als durchsichtige Variante.

HTC U11+ mit allen Specs: Trendiges Flaggschiff im transparentem Glas

Jetzt hat endlich auch HTC sein 18:9-Flaggschiff! Der taiwanesische Hersteller hat sein HTC U11 genommen, es in ein trendiges Design mit ränder-reduzierter Front verpackt und ein paar Extras hinzugefügt, wie die Translucent-Black-Variante im Case-Modder-Stil.
Alexander Fagot, 02 Nov 2017 08:00
Das erste HTC-Smartphone mit purem Android ist da: Das HTC U11 life.

HTC U11 life: Erster Android One-Midranger mit Android 8 Oreo is da

HTC prescht vor und bringt ein Midrange-Smartphone mit purem Android auf den Markt. Im Gegensatz zur Konkurrenz läuft am HTC U11 life bereits die aktuelle Android-Version Oreo. Extras wie Edge Sense und HTC USonic gibt es ebenfalls.
Alexander Fagot, 02 Nov 2017 08:00
New Player: Razer Phone Smartphone offiziell vorgestellt

New Player: Razer Phone Smartphone offiziell vorgestellt & Hands-on

Surprise, surprise. It's a phone! Die Gerüchteküche rund um ein Smartphone vom Gaming-Spezialisten Razer brodelt schon eine ganze Weile, angefeuert vor allem von Postings des Chefs Min-Liang Tan höchstpersönlich. Jetzt ist die Katze aus dem Sack: Mit dem Razer Phone wird das Portfolio um ein High-End-Smartphone für Gamer erweitert.
J. Simon Leitner, 01 Nov 2017 22:11
Test Gigabyte Aero 15X (i7-7700HQ, GTX 1070 Max-Q, Full-HD) Laptop

87% Test Gigabyte Aero 15X (i7-7700HQ, GTX 1070 Max-Q, Full-HD) Laptop

Schick, schlank, schnell. Das dünne Aero 15X bringt neben einer kräftigen CPU und einem starken Grafikkern auch einen matten IPS-Bildschirm, eine NVMe-SSD und Thunderbolt 3 mit. Auf lange Akkulaufzeiten muss nicht verzichtet werden.
Intel Core i7-7700HQ, NVIDIA GeForce GTX 1070 Max-Q, 15.6", 2.2 kg
Sascha Mölck, 01 Nov 2017 21:17
macOS 10.13.1 ist draussen.

macOS 10.13.1: High Sierra mit dem ersten Update

macOS 10.13.1 ist gestern zusammen mit iOS 11.1 erschienen. Das erste Update für High Sierra behebt zahlreiche Sicherheitslücken und soll auch die Zuverlässigkeit und Stabilität des Betriebssystems erhöhen.
Daniel Puschina, 01 Nov 2017 17:42
Das HTC U11 Plus in einer durchsichtigen "Translucent"-Edition, einer von vielen Leaks zum neuen Flaggschiff.

HTC U11 Plus und HTC U11 Life: Hands-On-Video zeigt Geräte vorab

Die Geheimhaltung zum künftigen Flaggschiff U11 Plus und dem Android-One-Midranger U11 Life ist HTC dieses Mal so gar nicht gelungen. Neben zu früh online gestellten Produktseiten von Providern und Händlern, ist auch ein echtes Hands-On-Video aus der Schweiz bereits vorab im Netz gelandet. Offiziell vorgestellt werden die beiden Smartphones eigentlich erst am 2. November.
Alexander Fagot, 01 Nov 2017 16:26
Der HomePod steht bei iOS 11.2 Beta im Mittelpunkt.

Apple: iOS 11.2 Beta bringt SiriKit für den HomePod

Kaum ist iOS 11.1 seit gestern zum Download verfügbar, ist bereits iOS 11.2 Beta für die Apple-Entwickler erhältlich. Ein wichtiger Arbeitsauftrag an die Tester ist die Verwendung des SiriKits in den Apps, die Schnittstelle für den HomePod.
Daniel Puschina, 01 Nov 2017 16:17
Im Vergleich: Drei günstige 15-Zoll Gaming-Laptops mit Pascal

Im Vergleich: Drei günstige 15-Zoll Gaming-Laptops mit Pascal

Sabre vs. Inspiron vs. Legion. Wir vergleichen drei beliebte Einstiegs-Gamer mit der GTX-1050-Grafikkarte. Wie unterscheiden sich die Notebooks und wo bekommt man am meisten für sein Geld?
Allen Ngo, 01 Nov 2017 16:08
Messenger: Signal ab sofort als Desktop-Client verfügbar

Messenger: Signal ab sofort als Desktop-Client verfügbar

Der Signal-Messenger ist ab sofort als eigenständige Software für Windows, macOS und Linux erhältlich.
Silvio Werner, 01 Nov 2017 13:11
Nvidia GeForce Now ist nun in Europa für Mac-Rechner verfügbar

GeForce Now: Spiele-Streaming für Mac startet offiziell in Europa

Vor rund zwei Wochen berichteten wir über den Launch des Streaming-Angebots GeForce Now, nun können auch europäische Mac-Spieler von diesem Service Gebrauch machen. Klasse: die Betaversion kann bis Ende 2017 kostenlos genutzt werden.
André Reinhardt, 01 Nov 2017 12:56
Geld wird über den iMessage-Chat geschickt.

Apple: Auch in iOS 11.2 Beta lässt Apple Pay Cash auf sich warten

Nachdem Apple Pay Cash in iOS 11.1 vorerst nur Mitarbeitern von Apple zum Testen zur Verfügung stand, tauchen mit dem Start des iOS 11.2 Beta erste Anzeichen von Apple Pay Cash auf. Der erhoffte große Betatest für alle Entwickler bleibt aber trotzdem noch aus.
Daniel Puschina, 01 Nov 2017 12:35
Das Gionee M7 Plus kommt mit 6,43 Zoll-Display und 18:9-Design auf den Markt.

Gionee M7 Plus-Leak: Größtes 18:9-Smartphone am Markt?

Fans großer Smartphones haben in China traditionell eine große Auswahl, das ändert sich auch bei ränder-reduzierten 18:9-Designs nicht. Der chinesische Smartphone-Hersteller Gionee schießt demnächst mit einem 6,43-Zoll-Display im M7 Plus wohl den Vogel ab und übertrifft damit das ohnehin schon riesige Galaxy Note 8 von Samsung.
Alexander Fagot, 01 Nov 2017 11:53
Test HP 14-bs007ng (i5-7200U, FHD) Laptop

82% Test HP 14-bs007ng (i5-7200U, FHD) Laptop

Kompakter Office-Rechner. HPs 14-Zöller bringt einen kräftigen Prozessor, eine schnelle SSD und einen matten IPS-Bildschirm mit. Trotz eines Preises von knapp 700 Euro ist das Gerät aber nicht frei von Schwächen.
Intel Core i5-7200U, HD Graphics 620, 14", 1.7 kg
Sascha Mölck, 01 Nov 2017 11:02
Geschäftskunden bekommen das Surface Pro mit LTE etwas früher.

Surface Pro mit LTE: Unterstützung von 20 LTE-Bändern aber verspätet

Erst Anfang 2018 werden Privatanwender die LTE-Variante des Surface Pro-Tablets auch tatsächlich kaufen können, Geschäftskunden kommen bereits ab 1. Dezember in den Genuss und dürfen sich auf ein Modem mit weltweiter Frequenzunterstützung und Cat.9-Geschwindigkeit freuen.
Alexander Fagot, 01 Nov 2017 11:00
Google Meet: Hardware für Konferenzen erhältlich

Google Meet: Hardware für Konferenzen erhältlich

Google bietet zukünftig ein Hardware-Paket für den Kommunikationsdienst Hangouts, das sich an Unternehmenskunden richtet.
Silvio Werner, 01 Nov 2017 09:20
Android Fast Pair: Schnelle, komfortable Verbindung zu Bluetooth-Geräten

Android Fast Pair: Schnelle, komfortable Verbindung zu Bluetooth-Geräten

Google hat eine neue Funktion namens Fast Pair vorgestellt, welche das Koppeln von Smartphones mit Bluetooth-Geräten erleichtern soll.
Silvio Werner, 01 Nov 2017 09:18
Bildquelle: The Sun

Bitcoin: Vietnam verbietet Kryptowährungen

Die vietnamesische Zentralbank hat den Bitcoin als legales Zahlungsmittel im Land verboten. Begründet wird dieser Schritt damit, dass die Kryptowährungen die "Finanzordnung stören".
Cornelius Wolff, 31 Oct 2017 22:51
Seagate: Neue Festplatten für PlayStation 4 und Überwachungskameras

Seagate: Drei neue Festplatten für PlayStation 4 und Überwachungskameras

Seagate bietet ab sofort eine 2,5-Zoll-Festplatte mit einer Kapazität von vier Terabyte (nicht nur) für die PlayStation 4 an. Zudem stellt das Unternehmen besonders oft beschreibbare Modelle vor.
Silvio Werner, 31 Oct 2017 21:52
AMD A6-9220 SoC - Benchmarks und Specs

AMD A6-9220 SoC - Benchmarks und Specs

Stoney Ridge x86 2 cores @ 2500 - 2900 MHz 28nm
Spezifikationen und Benchmarks des AMD A6-9220 Prozessors für Laptops.
Samsung: Hervorragende Quartalszahlen dank Handys und Chips

Samsung: Hervorragende Quartalszahlen dank Handys und Chips

Samsung kann in den aktuellen Quartalszahlen einen höheren Umsatz und Gewinn ausweisen - letzterer konnte sich mehr als verdoppeln.
Silvio Werner, 31 Oct 2017 15:26
Skype: Neues Design nun auch für den Desktop Bild: Microsoft

Skype: Neues Design nun auch für den Desktop

Skype steht ab sofort auch für den Desktop in einer neuen Version bereit - mit zahlreichen Überarbeitungen.
Silvio Werner, 31 Oct 2017 15:22
Firefox 58: Canvas-Fingerprinting soll verhindert werden

Firefox 58: Canvas-Fingerprinting soll verhindert werden

Firefox 58 soll standardmäßig das sogenannte Canvas-Fingerprinting unterdrücken, welches die eindeutige Identifikation von Internetnutzern zulässt.
Silvio Werner, 31 Oct 2017 15:19
Ein absolutes Einsteiger-Smartphone bietet HMD Global mit dem Nokia 2 in Indien an.

Nokia 2: Einsteiger-Smartphone mit Riesenakku für 99 US-Dollar

2 Tage ohne Stromanschluss auskommen, wie HMD Global für das Nokia 2 verspricht, dürfte angesichts der veröffentlichten technischen Daten realistisch sein. Das Einsteiger-Smartphone von Nokia kann zwar nicht viel, das aber lange. In Indien ist es jetzt für 99 US-Dollar vorgestellt worden.
Alexander Fagot, 31 Oct 2017 14:14
Das nächste Snapdragon-Flaggschiff könnte bereits im Dezember vorgestellt werden.

Qualcomm Snapdragon 845: Launch bereits im Dezember ohne Kryo-Cores?

Bereits seit Monaten wird darüber spekuliert, dass Galaxy S9 und Co. im nächsten Jahr früher starten als 2017. Nun hören wir, dass auch der dazugehörige Prozessor früher als üblich vorgestellt wird, schon Anfang Dezember soll es soweit sein. Der Octacore-Prozessor könnte in diesem Jahr statt mit Kryo-Kernen mit generischen Cortex A75-Kernen ausgestattet werden.
Alexander Fagot, 31 Oct 2017 08:59
Das iPhone X in ersten Hands-On-Berichten: Wie happy sind die Tester?

Apple iPhone X: Erste Impressionen und Hands-On-Videos von Testern

Noch vor dem offiziell ersten Verkaufstag tauchen auf Youtube und bei Tech-Magazinen wie Wired die ersten offiziellen Hands-On-Berichte und Impressionen zum künftigen iPhone-Flaggschiff auf. Das iPhone X ist in aller Munde, wie zufrieden sind die ersten Tester mit ihren Geräten?
Alexander Fagot, 31 Oct 2017 08:19
Das OnePlus 5T hier nun in einem "offiziellen Leak" von Evan Blass.

OnePlus 5T: So sieht es nun wirklich aus!

Na bitte, geht doch! Nach einigen dubiosen Leaks rund um das OnePlus 5T, hat sich nun auch der gewöhnlich sehr verlässliche Evan Blass eingeschaltet und ein erstes hochauflösendes Bild des künftigen OnePlus-Flaggschiffs gepostet. Am 16. November könnte der offizielle Launch erfolgen.
Alexander Fagot, 30 Oct 2017 15:32
Das Oppo R11S und der größere Bruder R11S Plus starten am 2. November.

Oppo R11S und R11S Plus: Webseite und Specs vorab im Netz

Für den 2. November ist der offizielle Launch der beiden Midrange- Phones R11S und R11S Plus von Oppo geplant. Schon jetzt sind die wichtigsten Spezifikationen über die chinesische Zertifizierungsbehörde TENAA geleakt. Die Produktseite für das kleinere Modell ist ebenfalls bereits im Netz.
Alexander Fagot, 30 Oct 2017 14:14
Assassin's Creed Origins: Extreme CPU-Auslastung durch Kopierschutz?

Assassin's Creed Origins: Extreme CPU-Auslastung durch Kopierschutz?

Berichten zufolge sorgt der in Assassin's Creed Origins verwendete Denuvo-Kopierschutz für eine extrem hohe CPU-Auslastung.
Silvio Werner, 30 Oct 2017 13:07
Corsair: Kühler für RAM-Module vorgestellt

Corsair: Kühler für RAM-Module vorgestellt

Corsair bietet mit dem Dominator Airflow Platinum ab sofort eine neue, aus zwei Lüftern bestehende Kühleinheit für RAM-Module an.
Silvio Werner, 30 Oct 2017 09:26
Cougar: Zwei neue 2.000-Hz-Mäuse vorgestellt

Cougar: Zwei neue 2.000-Hz-Mäuse vorgestellt

Cougar bietet mit der Minos X5 und Revenger S demnächst zwei neue Gaming-Mäuse mit einer besonders hohen Abtastrate an.
Silvio Werner, 30 Oct 2017 09:20
Die Systemvoraussetzungen für Final Fantasy XV Windows Edition sind bekannt

Final Fantasy XV Windows Edition: Systemanforderungen bekannt

Das Rollenspiel Final Fantasy XV wird endlich Anfang 2018 auch die PC-Fraktion in seinen Bann ziehen. Was das Notebook oder der Desktop-Rechner dafür an Hardware mitbringen muss, wurde durch einen Eintrag im Microsoft Store bekannt.
André Reinhardt, 30 Oct 2017 08:57
CPU-Kühler: Ben Nevis bekommt schwarze RGB-Variante

CPU-Kühler: Ben Nevis bekommt schwarze RGB-Variante

Alpenföhn bringt den Ben Nevis Advanced in einer neuen Version mit RGB-Beleuchtung und schwarzer Lackierung auf den Markt.
Silvio Werner, 29 Oct 2017 23:24
Samsung: Alte Smartphones sollen neues Leben bekommen

Samsung: Alte Smartphones sollen neues Leben bekommen

Samsung will mit einer neuen Upcycling-Initiative alte Galaxy-Smartphones einer sinnvollen, neuen Verwendung zuführen.
Silvio Werner, 29 Oct 2017 23:08
Zowie: Gaming-Mäuse EC1-B und EC2-B vorgestellt

Zowie: Gaming-Mäuse EC1-B und EC2-B vorgestellt

BenQ veröffentlicht unter der Zowie-Marke zwei neue Gaming-Mäuse, die mit einem optischen Sensor ausgestattet sind.
Silvio Werner, 29 Oct 2017 21:56
Mit 400.000 GTA-Dollar lässt sich das Leben geniessen.

GTA 5 Online: Jeder Spieler erhält 400.000 GTA-Dollar geschenkt

Einfach bis zum 6. November in GTA Online einloggen und 400.000 GTA-Dollar gewinnen! Das ist ein Geschenk von Rockstar Games an Euch zum Vier-Jahres-Jubiläum von GTA 5. Zusätzlich warten noch weitere Halloween-Geschenke.
Daniel Puschina, 29 Oct 2017 16:18
iOS 11.1 gibts vermutlich zu Halloween zum Download.

iOS: Das finale iOS 11.1 könnte zu Halloween erscheinen

(Update: iOS 11.1 ist da!) Am 31. Oktober, zu Halloween, könnte iOS 11.1 offiziell für alle User erscheinen. Die neue Version soll vor allem Verbesserungen bei der Akkulaufzeit, Sicherheitsfixes und Hunderte neue Emojis bieten.
Daniel Puschina, 29 Oct 2017 14:46
Xigmatek Prosper: E-ATX-Gehäuse mit vier Glasfenstern

Xigmatek Prosper: E-ATX-Gehäuse mit vier Glasfenstern

Das neue Gehäuse von Xigmatek ist mit zahlreichen und großformatigen Glasteilen und vier RGB-Lüftern bestückt.
Silvio Werner, 29 Oct 2017 11:27
Apple ist streng: Ein Hands-On-Video mit einem Techniker-Handy geht gar nicht.

Strenges Apple: iPhone X-Hands-On-Video führt zur Kündigung eines Technikers

Vergangene Woche ging ein frühes Hands-On-Video einer jungen Youtuberin viral, die das Iphone X ihres Vaters bei einem Besuch der Apple-Cafeteria mit seiner Erlaubnis stolz einige Minuten lang gefilmt hatte. Wie die Tochter nun auf Youtube bekannt gab, wurde der Apple-Techniker deswegen gefeuert.
Alexander Fagot, 29 Oct 2017 10:14
Das Oppo F5 ist der neueste Vertreter der Oppo Selfie-Expert-Serie.

Oppo F5-Launch: 18:9-Selfie-Expert-Phone mit 20 MP-KI-Shooter

Oppo hat Ende vergangener Woche den neuesten Selfie-Experten der beliebten F-Smartphone-Serie auf den Philippinen offiziell gelauncht. Das neue Oppo F5 im 18:9-Design kann mit seiner 20 Megapixel Frontkamera aufgehübschte Selfies schießen und setzt dazu auf KI-Algorithmen und eine Fotodatenbank.
Alexander Fagot, 29 Oct 2017 09:24
news icon
110 neue externe Testberichte +
Toptenreviews: Asus Transformer Pro T304 Review, Toptenreviews: Acer Swift 3 Review, Toptenreviews: Acer Switch 5 Review, CNet: Lenovo Flex 5 (15-inch) review:, CNet: Lenovo ThinkPad Yoga 370 review:, CNet: Alienware 17 (R4, 2017) review:, Techradar: Lenovo IdeaPad 320S review, Lowyat.net: Huawei Nova 2i Hands On: Democratising The 18:9 Display, India Today: Honor 9i review: Beauty that's only skin-deep, Android Headlines: LG V30 Review – The Ultimate Creativity Tool, Gogi.in: Honor 9i unboxing and first impression, NDTV Gadgets: Honor 9i Review, NDTV Gadgets: Honor 9i First Impressions: Will It Leave a Mark in Sub-Rs. 20,000 Segment?, India Today: Honor 9i first impressions: Huawei joins the full-screen bandwagon, Yugatech: Watch: Huawei Nova 2i Video Review, Techradar: LG V30 review, Yugatech: Huawei Nova 2i Review, Android Headlines: Sony Xperia XZ1 Android Smartphone Review: Don’t Judge It By Its Cover, India Today: Xiaomi Mi Mix 2 review: Beauty beyond borders, Yugatech: Apple iPhone 8 Plus Video Review, Hardware Zone: Sony Xperia XZ1 and XZ1 Compact review: A safe bet for flagship chasers, Techradar: MacBook review, Techradar: MacBook Air review, Techradar: MacBook Pro with Touch Bar (13-inch, Mid-2017) review, Toptenreviews: Acer Predator 21 X Review, Toptenreviews: Asus Zenbook Flip S UX370UA Review, Yugatech: Xiaomi Redmi Note 5A Review, Yugatech: ASUS ZenFone 4 Max Pro Review, Yugatech: ASUS Zenfone 4 (SD630) Review, Hardware Zone: Xiaomi Mi MIX 2 review: A starter set to bezel-less flagship smartphones, Hardware Zone: Xiaomi Mi A1 review: A Pixel on a budget, CNet: Asus ZenBook Flip S review, Yugatech: Doogee BL5000 Review, Techradar: Nokia 8 review, Zdnet.com: Moto G5S Plus review: Get creative with the dual camera for $300, Zdnet.com: Doogee BL7000 smartphone hands-on: An affordable phone with enterprise ambitions, Trusted Reviews: Huawei Mate 10 hands-on, Zdnet.com: Nokia 8 review: A solid but uninspiring flagship, Zdnet.com: iPhone 8 Plus Review: Bigger is better, but not for much longer, Zdnet.com: iPhone 8 review: More of the same, but better in just about every way, NDTV Gadgets: Nokia 8 Review, NDTV Gadgets: Zopo Speed X Review, NDTV Gadgets: Google Pixel 2 and Pixel 2 XL First Impressions, India Today: Nokia 8 review: Solid, elegant and refined, CNet: Pixel 2 XL's larger display makes it the Google phone to get, India Today: Lenovo K8 Plus review: A surprisingly capable no-nonsense budget phone, Yugatech: Vivo V7+ Review, Android Headlines: Hands-On With The New Google Pixel 2 XL Smartphone, Yugatech: Motorola Moto G5S Plus Review, Venture Beat: Pixel 2 review: Still the best Android phone money can buy, The Guardian: Google Pixel 2 XL review: the best big-screened Android experience yet, CNet: Pixelbook Chromebook is Google's new convertible laptop (hands-on), CNet: Pixel 2's superb camera makes up for no jack, CNet: Huawei's Mate 10 and Mate 10 Pro get dual cameras, AI tech, Hardware Zone: Google Pixel 2 XL review: Only for the pure of Android, Lowyat.net: Huawei Mate 10 Hands On: For the Core Mate User, Lowyat.net: Huawei Mate 10 Pro Hands On: A Flagship That Makes Sense, Hardware Zone: Hands-on with the Google Pixel 2 and Pixel 2 XL, Hardware Zone: Hands-on: Huawei Mate 10, Techradar: Google Pixel 2 XL review, Techradar: Google Pixel 2 review, Techradar: Lenovo Tab 4 10 Plus review, Techradar: Hands on: Huawei Mate 10 Pro review, Techradar: Microsoft Surface Studio review, Techradar: Chuwi SurBook review, Techradar: Google Pixel XL review, Techradar: Google Pixel review, Techradar: Hands on: Google Pixelbook review, Chip.de: Mittelklasse-Handy mit schickem 18:9-Display, Smart Checker: iPhone 8 und iPhone 8 Plus, Tablet Blog: Ist es ein Preis/Leistungssieger?, Verivox: Nokia-Neuling auf Erfolgskurs, Notebooksbilliger Blog: Medion Erazer X7857 großes Gaming-Notebook mit Kraftreserven, Notebooksbilliger Blog: Ultrabook mit sehr hellem 14-Zoll-Display , ZDNet: Xiaomi Mi Notebook Air 13.3, Chip.de: Google Pixel 2 Android-8-Referenz mit Top-Kamera, Allround-PC.com: Einsteiger-Gaming-Notebook auf dem Prüfstand, Focus Online: Google Pixel 2 und Pixel 2 XL, Chip.de: Langatmiges Mittelklasse-Smartphone, PC Welt: Schwache Kamera, Tech Stage: die iPhone-Alternative!, Chip.de: Huawei Mate 10 Pro Groß, stark und edel, RP-Online: Was taugen Pixel 2 und Pixel 2 XL?, Tech Stage: Angriff auf die Oberklasse, PCtipp.ch: Huawei Mate 10 Pro, Chip.de: Googles neue Überflieger, n-tv: Pixel 2 greift im Duo nach der Krone, Technik Surfer: Kann Huawei auch Notebooks?, Golem: Starkes Smartphone mit noch unauffälliger KI, Heute: Huawei Mate 10 Pro, Android Mag: iPhone 8 Plus, Android Pit: Eine Nummer Kleiner, Blick: LG bringt das kleine Q6 gross heraus, Frankfurter Allgemeine: Smartphone für Google-Fans und Android-Liebhaber, Android Mag: Asus Zenfone 4 the big comeback, Android Mag: Xiaomi Mi Mix 2, Android Pit: Das Wesentliche Ist Für Die Augen Unsichtbar, Curved: Huawei Mate 10 Pro, Android Pit: Der Weg Aus Der Nische Ist Lang, Android Mag: Huawei Mate 10 Pro, Techradar: Hands on: Huawei Mate 10 review
Wolfenstein II: The New Colossus Notebook und Desktop Benchmarks

Wolfenstein II: The New Colossus Notebook und Desktop Benchmarks

Kult oder Trash? Wie schon der Vorgänger garniert auch Wolfenstein II seine durchaus ernste Rebellenstory im Unterdrückungs-Regime mit humoristischen Elementen. Brandneu ist das Technikgerüst auf Basis der mächtigen id Tech 6. Welche (Notebook-)Grafikkarte man für den Ego-Shooter benötigt, überprüfen wir in diesem Benchmark-Test.
Florian Glaser, 28 Oct 2017 23:12
Spezielle iPhone-Hüllen bieten einen verschiebbaren Schutz für die Privatsphäre.

iPhone Security: Wenn die Kamera heimlich Fotos schießt

Eine Kamera, die sich selbstständig macht, ist wohl das Letzte, was sich ein iPhone-Besitzer wünscht. Genau das kann allerdings bei unvorsichtig und zu großzügig vergebenen Kamera-Berechtigungen passieren, wie der Softwareentwickler Felix Krause demonstriert.
Daniel Puschina, 28 Oct 2017 20:50
Intel: erste Optane-SSD mit 3D-Xpoint-Speicher für Heimnutzer

Intel: erste Optane-SSD mit 3D-Xpoint-Speicher für Heimnutzer

Mit der Intel Optane SSD 900p wird Intel die 3D-Xpoint-Speichertechnologie zum ersten Mal für Endverbraucher verfügbar machen. Wegen des verhältnismäßig hohen Preises wird diese vermutlich für viele Nutzer erstmal uninteressant bleiben.
Cornelius Wolff, 28 Oct 2017 20:13
Dell Security-Malheur: Recovery-Webseite könnte zur Malware-Verteilung missbraucht worden sein

Dell Security-Malheur: Recovery-Webseite könnte zur Malware-Verteilung missbraucht worden sein

Der PC-Hersteller Dell hat im Sommer einige Wochen lang die Kontrolle über eine Webseite verloren, die man eigentlich zur Speicherung von Backup-Daten nutzt. Es ist nicht zu 100 % auszuschließen, dass einige Dell-Kunden in dieser Zeit Malware untergejubelt bekamen.
Benjamin Herzig, 28 Oct 2017 16:11
Teilen Sie diesen Artikel, um uns zu unterstützen. Jeder Link hilft!
Mail Logo

Schnäppchen des Tages

Deals loading ...
















CES Logo Jetzt mitmachen: Die große NBC-Umfrage zur Servicezufriedenheit bei Laptops und Smartphones 2026

Upcoming Reviews

  • Apple iPad Air 11 M4
  • Apple iPad Air 13 M4
  • Honor MagicPad 4 12.3
  • Motorola Moto G67
  • Nothing Phone (4a)
  • Nothing Phone (4a) Pro
  • Oppo Find N6
  • Realme 16 Pro
  • Realme 16 Pro+
  • Samsung Galaxy S26
  • Samsung Galaxy S26+
  • Samsung Galaxy S26 Ultra
  • Vivo iQOO 15 Ultra
  • Xiaomi Poco C85
  • Xiaomi Poco X8 Pro
  • Xiaomi Poco X8 Pro Max
     
  • Acer Predator Triton 14
  • Apple MacBook Pro 16 M5 Max
  • Asus Zenbook 14 OLED Core Ultra
  • Asus ExpertBook B1 15
  • Asus ExpertBook P1 15
  • Asus VivoBook S 16
  • HP Envy 16 2-in-1
  • HP ProBook 450 G10
  • HP EliteBook 8 G1ak
  • HP ZBook 8 G1i
  • Lenovo Yoga 6 13ABR8 R7 7730U
  • Lenovo IdeaPad 5 2-in-1 14AKP10
  • Lenovo ThinkPad L13 2-in-1
  • Lenovo Yoga 7 16 2in1 G10
  • Lenovo Legion 7 16 G11
  • Samsung GalaxyBook6 Pro
     
  • Acemagic M1A Pro, Ryzen AI Max 395+
  • Minisforum AI X1 Pro-470
  • Khadas Mind Pro + Mind Graphics

Das Magazin über Notebook-, Tablet- und Smartphone-Tests, News und Technik

Notebookcheck ist seit 20 Jahren ein unabhängiges Portal für Notebook / Laptop, Tablet und Smartphone-Informationen. » über uns
Folgen Sie uns auf   Facebook Twitter YouTube LinkedIn RSS Artikel RSS Tests RSS News

Kategorien

3D Printing (400) 5G (2604) 6G (1) Accessory (8162) AI (1633) Alder Lake (662) AMD (2945) Android (19925) Anime / Manga (17) Apple (7569) Arc (250) ARM (2682) Arrow Lake (227) Astronomy / Space (293) Audio (3625) Benchmark (159) Biotech (78) Blackwell RTX 5000 (244) Business (9845) Camera (1715) CES 2026 (207) Cezanne (Zen 3) (138) Charts (227) Chromebook (467) Climate (23) Comics (7) Concept / Prototype (135) Console (2778) Convertible / 2-in-1 (2050) CPU (91) Cryptocurrency (171) Cyberlaw (800) Deal (11188) Desktop (4268) DIY (699) Drawing (1) Drone (147) E-Ink (243) E-Mobility (5150) Education (66) Exclusive (22) Fail (900) FemTech (6) Foldable (1547) Gadget (3592) Galaxy A (224) Galaxy M (10) Galaxy S (2112) Galaxy Tab (660) Game Releases (290) Gamecheck (313) Gamescom 2025 (30) Gaming (17015) Garmin (89) Gator Range   Geforce (3203) Google Pixel (1546) GPU (1054) Hack / Data Breach (59) Handheld (754) Health (73) Home Theater (1095) How To (58) Humor (16) IFA 2025 (96) Intel (1723) Intel Evo (263) Internet of Things (IoT) (496) iOS (732) iPad (274) iPad Pro (649) iPhone (3394) Jasper Lake (34) Laptop / Notebook (12991) Launch (17160) Leaks / Rumors (16637) Linux / Unix (643) List (38) Lucienne (Zen 2) (36) Lunar Lake (171) MacBook (1148) macOS (94) Medusa Point   Meteor Lake (245) Microsoft (196) Mini PC (1946) Monitor (2772) Movies / TV-Shows (91) MS Surface (104) MSI (475) MWC (56) NAS (61) Network (58) Nova Lake (4) Nvidia (468) Open Source (284) Opinion / Kommentar (116) Panther Lake (104) Public Transport (153) Radeon (429) Raptor Lake (557) Renewable (1234) Renoir (99) Retro (84) Review Snippet (1971) RISC-V (68) Robot / Robotics (299) Robot Vacuum (167) Rollable (2) Rugged (249) Ryzen (Zen) (1465) Samsung (570) Science (1051) Security (1577) Server/Datacenter (81) SFF (6) Single-Board Computer (SBC) (889) Smart Home (4897) Smartphone (28243) Smartwatch (5745) Snapdragon X Series (201) Social Media (203) Software (3830) Sports / e-Sports (72) Storage (1265) Streaming (3) Tablet (5890) ThinkPad (1914) Thunderbolt (1489) Touchscreen (3646) Ultrabook (1778) Virtual Reality (VR) / Augmented Reality (AR) (883) Watch (213) Wearable (5085) Wi-Fi 7 (527) Wi-Fi 8 (3) Windows (7750) Workstation (670) XPS (183) Zen 3 (Vermeer) (61) Zen 4 (223) Zen 5 (257) Zen 6 (9)
... mehr
... mehr

Neu im Forum

> Notebook Test, Laptop Test und News
Autor: Klaus Hinum (Update:  2.04.2026)