#Technisch Daten 1
Intel Centrino Atom Prozessortechnologie und die Atom CPUs
Die Intel Centrino Atom Prozessortechnologie wurde speziell für den Einsatz in Mobilen Internet Devices (MIDs) entwickelt. Diese Einsatzgebiete benötigen eine besonders kleine, energie-sparende und günstige Technologie, die trotzdem ausreichend Leistung für den Einsatz im World-Wide-Web (3W) zur Verfügung stellt.
Die Intel Atom Familie umfasst spezielle Prozessoren für sogenannte Netbooks, Nettops und MIDs (Mobile Internetgeräte). Dabei kategorisiert Intel diese anhand der erforderlichen Leistung:
Netbooks und Nettops bieten im Vergleich zu MIDs weniger Leistung und werden entweder mit einen Silverthorne oder einen Diamondville Prozessor ausgestattet.
MIDs basieren auf der Intel Atom Centrino Prozessor Technologie (Menlow Plattform), die neben einem Silverthorne Prozessor auch das Intel US15W Chipset (Codename: Poulsbo) beinhaltet.
Intel Atom Centrino Prozessortechnologie

Als Intels erste Plattform für Mobile Internet Devices (MIDs) und Ultra-Mobile-PCs (UMPCs) vereint die Intel Centrino Prozessortechnologie (Codename: Menlow) den Intel Atom Prozessor mit dem Intel System Controller Hub, einem energie-sparenden Chipsatz mit integrierter Grafik. Für Details über den Intel Atom Prozessor und den Intel System Controlle Hub sei an dieser Stelle auf die entsprechenden Abschnitte weiter unten verwiesen.
MIDs, also kleine und leichte Geräte für Internetanwendungen, die das Intel Centrino Atom Logo tragen, verfügen außerdem über drahtlose Funkverbindungen wie WiFi, WiMax, UMTS oder Kombinationen aus diesen und sind auf Stromverbrauch optimiert.
Intel Atom Prozessor

Atom Prozessor ist Intels Markenname für eine Familie besonders energie-sparender Prozessoren, die speziell für Netbooks, Nettops und Internetgeräte entwickelt wurde. Die Intel Atom Prozessoren basieren auf einer vollkommen neu-entwickelten Mikroarchitektur (in-order Ausführung z.B.), die besonders im Hinblick auf Größe und Energieeffizienz entworfen wurde und außerdem kompatibel mit dem Befehlssatz der Intel Core 2 Duo CPU ist.
Für Netbooks und Nettops stehen auch Diamondville Prozessoren zur Verfügung. Zur Zeit sind das der Intel Atom N270 Prozessor, der speziell für Netbooks entworfen wurde und die Intel Atom 330 bzw Intel Atom 230 CPU für Nettops (Desktops). Während alle erwähnten Prozessoren mit 1.60 GHz getaktet werden und einen 533 MHz Frontsidebus besitzen, ist der Energieverbrauch der Nettop Prozessoren deutlich höher.
MIDs und einige Netbooks mit größerem Bildschirm werden mit Silverthorne Prozessoren und einem eigenem Chipset, dem Intel US15W Chipset, Codename "Poulsbo" ausgestattet.

Bei den Silverthorne Prozessoren finden auf einer Chipfläche von nur 25 Quadratmillimeter 47 Millionen Transistoren Platz. Die 'Dies', so nennt man die winzigen Siliziumplättchen, werden im 45 nm Prozess auf Basis der HKMG1-Halbleitertechnik gefertigt. Dabei steht HKMG für "High-k/metal gate" und bedeutet, dass bei den Transistor-Gates die Elektrode aus Metall und die Isolatorschicht aus einem Material (neue Hafniumverbindung) mit hoher Dielektrizitätskonstante k besteht.
Abwärtskompatibilität
Der Core 2 Duo vor Einführung der Santa Rosa Platform basiert noch wie der Vorgänger auf das PGA Socket-M Interface. Dadurch ist es möglich manche Notebooks von einem Core Duo auf einen Core 2 Duo aufzurüsten. Nötig hierzu ist jedoch ein Bios das den Core 2 Duo unterstützt. Außerdem darf der Prozessor nicht mit dem Mainboard verlötet sein (wie beim BGA - Ball Grid Array - Gehäuse).
Folgende Chipsätze unterstützen theoretisch einen Core 2 Duo:
Intel 945GM: Core 2 Duo, LV, ULV
Intel 945GMS: Core 2 Duo LV und ULV
Intel 945PM: Core 2 Duo, LV, ULV
Intel 940GML: Unterstützt keinen Core 2 Duo
Atom N270 CPU für Netbooks

Die Intel Atom N270 CPU ist ein Einkern-Prozessor, der für den Intel 945GSE Express Chipsatz validiert wurde. Dieses besteht aus dem 82945GSE Graphics Memory Controller Hub und dem Intel® I/O Controller Hub 7-M. Die integrierte 32bit 3D Grafikengine basiert auf dem Intel Graphics Media Accelerator 950 Grafikchip mit SDVO, LVDS, CRT und TV-Out display ports. Neben I/O Schnittstellen und Schnittstellen mit hoher Bandbreite, wie PCI Express, PCI, Serial ATA und USB 2.0 bietet es auch einen einzelnen Slot für 400/533 MHz DDR2 Hauptspeicher (SODIMM oder memory down) und das Intel High Definition Audio Interface.
Schlüsseleigenschaften des N270 für NetBooks
Intel Atom processor N270 ist ein 32-Bit Einkernprozessor mit 1.6 GHz Taktfrequenz und einem 533 MHz AGTL+ Frontsidebus (FSB). Seine Verlustleistung (TDP: Thermal Design Power) beträgt 2.5 Watt.
Mikroarchitektur Features
- Einkernprozessor
- Primärer 32-kB Instruction-Cache und 24-kB Write-Back-Data-Cache
- 533-MHz source-synchronous Frontsidebus (FSB)
- Unterstützung für 2 Threads
- 512-kB, 8-way L2-Cache
- IA 32-bit Architektur
- Micro-FCBGA8 Packaging-Technologie
- Hyperthreading Technologie, wenn vom Betriebssystem unterstützt.
- Streaming SIMD Extensions (SSE) 2 und SSE3 und Supplemental Streaming SIMD Extension 3 (SSSE3)
- Thermal-Management Unterstützung mittels Intel Thermal Monitor 1 (TM1) und Intel Thermal Monitor 2 (TM 2)
- FSB Lane Reversal für flexibles Routing
- Execute Disable Bit: Diese Funktion verhindert, wenn sie vom Betriebssystem unterstützt wird, Angriffe bösartigen Codes, die Bufferüberläufe ausnutzen, um das System zu infizieren.
- Verbesserter Data Prefetcher und Register-Access-Manager prognostiziert die wahrscheinlich vom Prozessor benötigten Daten und speichert diese im L2-Cache, sodass der Processor weniger lange auf die Daten warten muss, wodurch die Leistung verbessert wird.
- Erweiterter Smart-Cache: Die Verbesserung der Cache und der Busarchitektur sollen den Datenaustausch effizienter machen und verbessern so Leistung und Strombedarf.
Stromsparfunktionen
- Geringe Verlustleistung
- Erweiterte SpeedStep Technologie zur Verringerung der durchschnittlichen Leistungsaufnahme durch mehrstufige Anpassung der Betriebsspannung und Takfrequenzen an die aktuelle Auslastung.
- Erweiterte Niedrig-Energie-Schlafzustände (C1E, C2E, C4E): Cache Daten werden während inaktiver Phasen in den Systemspeicher übertragen und die CPU Spannung verringert.
- Dynamische L2 Cache Sizing
- Energie-optimierter Frontsidebus
Detaillierte Beschreibungen der Prozessorfeatures sind in diesem Dokument auf Intel's Webseite verfügbar.
Montevina Penryn Update (Centrino 2)
Am 15 Juli 2008 stellte Intel im Zuge der Centrino 2 Plattform überarbeitete Penryn Prozessoren mit FSB 1066 und verringertem TDP (Stromverbrauch) vor. Besonders die neue 25 Watt P-Klasse soll leistungsfähige Prozessoren in kleine Laptops bringen.
Silverthorne CPUs für MIDs
Auch die Silverthorne CPUs sind 32-Bit Einkern-Prozessoren, die im 45nm Prozess auf Basis der HKMG1-Halbleitertechnik gefertigt wurden. Sie wurden für die Intel System Controller Hub UL11L (Z500), US15L (Z530, Z500) oder US15W (alle Z5xx CPUs) Chipsets validiert. Die spezifizierte Leistungsaufnahme dieser Prozessoren reicht von 0.65 Watt bis 2.5 Watt Thermal Design Power (TDP), die Taktraten zwischen 800 MHz und 1.86 GHz. Alle zur Zeit zur Verfügung stehenden Silverthorne Prozessoren (Z500, Z510, Z520, Z530, Z540) arbeiten mit 512K Level 2 Cache.
Schlüsseleigenschaften der Silverthorne CPUs für MIDs
Mikroarchitektur Features
- Einkern-Prozessor
- 32-kB primärer Instruction-Cache und 24-kB Write-Back-Data-Cache
- 100-MHz (Z500) oder 133-MHz Source-Synchronous Frontsidebus (FSB)
- Hyperthreading Technologie (2-Threads), wenn vom Betriebssystem unterstützt.
- 512-kB, 8-way L2 Cache
- IA 32-bit Architektur
- Teilweise: Intel Virtualization Technologie (VT)
- Streaming SIMD Extensions (SSE) 2 und SSE3 und Supplemental Streaming SIMD Extensions 3 (SSSE3)
- Unterstützt neue CMOS FSB Signale für geringeren Stromverbrauch
- Micro-FCBGA8 Packaging Technologien
- Execute Disable Bit: Diese Funktion verhindert, wenn sie vom Betriebssystem unterstützt wird, Angriffe bösartigen Codes, die Bufferüberläufe ausnutzen, um das System zu infizieren.
- Verbesserter Data Prefetcher und Register-Access-Manager prognostiziert die wahrscheinlich vom Prozessor benötigten Daten und speichert diese im L2-Cache, sodass der Processor weniger lange auf die Daten warten muss, wodurch die Leistung verbessert wird.
- Erweiterter Smart-Cache: Die Verbesserung der Cache und der Busarchitektur sollen den Datenaustausch effizienter machen und verbessern so Leistung und Strombedarf.
Stromsparfunktionen
- Geringe Verlustleistung
- Thermal-Management Unterstützung mittels TM1 und TM2
- FSB Lane Reversal für flexibles Routing
- Intel Deep Power-Down Technologie (C6)
- Erweiterte SpeedStep Technologie zur Verringerung der durchschnittlichen Leistungsaufnahme durch mehrstufige Anpassung der Betriebsspannung und Takfrequenzen an die aktuelle Auslastung.
- Erweiterte Niedrig-Energie-Schlafzustände (C1E, C2E, C4E): Cache Daten werden während inaktiver Phasen in den Systemspeicher übertragen und die CPU Spannung verringert.
- Dynamische L2 Cache Sizing
- Energie-optimierter Frontsidebus
Detaillierte Beschreibungen der Prozessorfeatures sind in diesem Dokument auf Intel's Webseite verfügbar.
Mikroarchitektur Features
Stromsparfunktionen
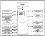
Intel System Controller Hub
Der Intel System Controller Hub (Intel SCH), ein Teil der Intel Centrino Atom Technologie und integiert Funktionalität, die normalerweise von verschiedenen Komponenten zur Verfügung gestellt wird in einem einzigen Chip. So bietet er etwa einen integrierten Grafikchip mit Prozessorschnittstelle und Memory-Controller und integrierte I/O Erweiterungen. Insgesamt ist die Verlustleistung geringer als 2.3 W. Neben Funktionalität zur Unterstützung von herkömmlichen Betriessystem (Microsoft Windows Vista und Linux), bietet der Intel SCH auch Unterstützung für Features die überlicherweise von Handheld-Geräten benötigt werden. Letztere umfassen z.B. SDIO/MMC und USB Client. Der Intel SCH würde speziell für die Intel Atom Z5xx Prozessorserie entwickelt.
Penryn Update
Im Jänner 2008 führte Intel neue T9xxx und T8xxx Core 2 Duo Prozessoren auf Basis des neuen "Penryn" Kerns vor. Diese Prozessoren werden in 45nm hergestellt (die Vorgänger noch in 65nm) und bieten einen größeren Level 2 Cache (3 und 6 MB, je nach Version - derzeit). Weiters bekam Penryn eine schnellere Divisionseinheit und 47 neue SSE Befehle (SSE4 getauft). Dank des neuen Produktionsprozesses konnte Intel die Taktraten steigern (bei gleichem Stromverbrauch).
Nach ersten Messungen der c't war ein Penryn T9500 rund 5-10% schneller als ein ein gleichgetakteter Merom T7800. Bei wenigen Tests konnte die c't sogar bis zu 25% an Mehrleistung messen. Einzelne SPEC-Benchmarks des CPU2000 liefen jedoch sogar langsamer als beim Merom. Grundsätzlich führen sie die Mehrleistung (wenn messbar) hauptsächlich auf den größeren L2 Cache zurück. Weitere Informationen und Benchmarks finden Sie in unserem Intel Core 2 Duo „Penryn“ CPU Vergleichstest.
Features des Intel System Controller Hubs

- Grafik und Display: Intel GMA 500 ist integriert
- Video: Hardwarebeschleunigung der Videodekodierung, vollständige Hardwarebeschleunigung von H.264, MPEG2, VC1, and WMV9
- Audio: High Definition Video von bis zu vier Audio Streams (jeder bis zu 16 Kanäle), 32-bit Sample Tiefe und Sampleraten bis zu 192 KHz.
- Interfaces: Unterstützung von acht USB 2.0 Ports und drei Secure Digital I/O 1.1 (1-bit or 4-bit) und einen Multimedia Card Controller 4.0 (1-bit, 4-bit oder 8-bit) Ports.
Der SMBus Host Controller ist mit den meisten I2C Geräten kompatible. LPC 1.1 ermöglicht einen Firmware Hub, einen Embedded-Controler und andere legacy (alte) Geräte.
Das Single-Channel PATA Interface untersützt zwei Geräte (master/slave) und zwei x1 Ports unterstützen PCI Express Base Specification Revision 1.0a.
Detaillierte Informationen sind auf Intel's Webseite verfügbar.
Leistung

Wie schon vorher erwähnt wurden die Intel Atom Prozessoren und die Intel Centrino Atom Plattform vor allem in Hinblick auf kleine Abmessungen und niedrigen Energieverbrauch völlig neu entwickelt. Dabei sollte der Energieverbrauch so niedrig sein, dass kein Lüfter benötigt wird, um wirklich kleine Mobile-Internet-Devices zu ermöglichen.
Die Intel Centrino Atom Plattform beinhaltet den Intel System Controller Hub und eine Z5xx Prozessor, wurde für MIDs entwickelt und bietet etwas bessere Performance als Lösungen mit N270 CPU, die für Netbooks entwickelt wurden.
Zusätzlich kommen Intel Atom CPUs auch in preiswerten Notebooks zum Einsatz. Obwohl ursprünglich nicht dafür entwickelt erwähnen manche Vidoes auf Intel's Homepage dieses Einsatzgebiet für Intel Atom CPUs. Die Leistung dieser ist jedoch - für ein Notebook - nicht überragend.
Schüsseleigenschaften

- Zwei 32 Bit Rechenkerne mit gemeinsamen L2 Cache
- Intel Smart Cache – 2MB L2 Cache mit erweiterter Transfer Cache Architektur
- Intel Digital Media Boost
- Intel Dynamic Power Coordination mit Dynamic Bus Parking
- Enhanced Intel Deeper Sleep mit Intel Smart Cache Sizing
- Intel Advanced Thermal Manager
- Power-Optimized 667 MHz System Bus (außer Uxxxx Prozessoren)
- Enhanced Intel SpeedStep Technology Support
- 65nm Herstellungsverfahren
Santa Rosa Update
Am 9. Mai 2007 wurde im Zuge der 4. Centrino Generation namens Santa Rosa auch der Core 2 Duo Prozessor erneuert. Der Prozessor basiert immer noch auf dem Merom Kern, wurde jedoch um einige Stromspar- und Optimierungsfunktionen erweitert. Ausserdem braucht er nun den neuen Socket P mit 478 Pins, der jedoch nicht mehr Pin-kompatibel mit dem Socket M der älteren Core 2 Duo ist.
Im Unterschied zu den Vorgänger Core 2 Duo Prozessoren arbeiten die neuen CPUs nun mit FSB 800 (200 MHz Quad-pumped) anstatt FSB 667 (133 MHz Quad-pumped).
Dieser unterstützt nun "Dynamic Front Side Bus Switching", wobei bei geringer Prozessorlast der FSB von 200 MHz auf bis zu 100 MHz (FSB 400) abgesenkt werden kann um Energie zu sparen. Diese Absenkung betrifft jedoch nur Chipsatz und Prozessor und wird daher "virtuell" genannt. Der Core 2 Duo kann sich dank Speedstep auf minimal 1.2 GHz runtertakten. Dank dem niedrigeren (virtuellen) FSB kann sich der "Santa Rosa" Core 2 Duo auf 800 MHz heruntertakten um noch mehr Strom zu sparen.
Ein weiteres neues Feature ist das dynamische Übertakten eines Kerns namens "Dynamic Acceleration". Wenn nur ein Kern des Prozessors gefordert wird, dann kann sich der eine Kern dynamisch übertakten, während der zweite Kern in den stromsparenden C3-Modus verweilt. Dadurch kann der übertaktete Kern mit der Taktrate des nächshöheren Modells arbeiten (z.B. 2.2 statt 2.0 GHz beim T7300). Dadurch bleibt die TDP (Thermal Design Power) gleich und erfordert keine angepassten Kühllösungen.
Wenn der Prozessor gerade keine Aufgabe zum Abarbeiten hat, begibt er sich in die unterschiedliche Sparzustände (C1 bis C4/DC4). Bei Santa Rosa sorgt der neue Chipsatz dafür, das der Prozessor so lange wie mögliche im Sparzustand verbleibt (z.B. fängt er Speicheranfragen ab).
Modelle
Das Intel Prozessornummerierungschema findet für Intel Atom keine Anwendung. Zur Zeit werden Z5xxx Prozessoren für MIDs und der N270 für Netbooks angeboten. Diese werden im obigen Text beschrieben. Daneben gibt es noch die Intel Atom 230 und 330 Prozessoren. Diese wurden für Nettops (die Desktop Gegenstücke zum Netbook) designed und sind für ein anderes Chipset (945GC Express) validiert. Dabei ist die Intel Atom 330 CPU derzeit der einzige Zweikernprozessor dieser Prozessorserie.
Eine detaillierte Auflistung aller Modelle finden Sie auf der Übersichtsseite mobiler Prozessoren.
Eine Leistungseinteilung aller mobiler Prozessoren finden Sie in unserer Benchmarkliste mobiler Prozessoren.

Dualcore Technik
Zwei Prozessorkerne werden im selben Prozessorbaustein mit der selben Frequenz betrieben und teilen sich den L2 Cache und den Front Side Bus (FSB).
Execute Disable Bit
Verhindert Sicherheitsprobleme durch Bufferüberläufe, wenn es das Betriebssystem unterstützt und aktiviert ist.
Dynamic Execution
beinhaltet Deep-Branch Vorhersage, dynamische Datenflußanalysen und spekultative Ausführung.
Smart-Cache
2 MB Level 2 Cache mit erweiterter Cache Architektur machen den Cache effizienter (verglichen mit der Pentium M Architektur).
Advanced Thermal Manager
Das im Vergleich mit der Pentium M Architektur erweiterte Thermal-Management System bringt Verbesserung in der Genauigkeit und eine präzisere akustische Steuerung und ermöglicht daher leisere, kühlere und schlankere Geräte.
Virtualisierungstechnik (VT)
Die Intel VT bietet Hardwareunterstützung für virtualisierte Systeme auf einem Rechner (also den Einsatz von mehreren Betriebssystemen parallel und isoliert nebeneinander z.B. durch Xen oder VMWare).
Digital Media Boost
Der Digital-Media-Boost ist eine Erweiterung der Mikroarchitektur, welche eine Optimierung der Befehle und Leistungsverbesserungen, die rechenintensive Aufgaben wie Audio- und Videoverarbeitung, Bildverarbeitung, 3D Grafik und wissenschaftliche Berechnungen beschleunigen soll.
Technische Daten

Alle Core Duo Prozessoren sind im 65 nm Verfahren hergestellt und besitzen 2 MB Level 2 Cache. Abhängig vom Modell ist der Front-Side-Bus mit 667 MHz bzw. mit 533 MHz getaktet (Ultra-Low-Voltage Modelle). Die Ultra-Low-Voltage Modelle benötigten 9.0 Watt, die Low-Voltage Modelle 15 Watt, alle anderen 31 Watt. Die Intel Core Duo Prozessoren bieten Taktraten von 1.06 GHz bis zu 2.33 GHz, implementieren alle Intels Erweiterte-Speedstep-Technologie und Execute-Disable-Bit und teilweise Intels Virtualisierung-Technologie. Der Intel Core Duo basiert wie der Intel Core Solo und der Intel Xeon Zweikernprozessor LV auf der verbesserten Pentium M Prozessor Mikroarchitektur.
Erweiterte Pentium M Architektur
Der Intel Core Prozessor basiert auf der Pentium M Architektur. Die Pentium M Prozessorfamilie bieten verglichen mit früheren mobilen IA-32 Prozessoren Verbesserungen der Mikroarchitektur, einen niedrigen Stromverbrauch und eine gute Leistung. Das Ziel war dabei eine längere Akku-Laufzeit und nahtlose Integration von neuen Verwendungszwecken, wie zum Beispiel erweiterte Mobilität, sehr dünne Formfaktoren und eingebautes Drahtlos-Netzwerk. Folgende Erweiterungen wurden dabei implementiert:
- Unterstützung von Intel Architekturen mit Dynamic Execution
- 32-KByte Instruction-Cache und 32-KByte Write-Back-Data-Cache am Chip
- Bis zu 2 MByte Second-Level-Cache mit erweiterter Transfer-Cache-Architektur
- Erweiterte Branch-Prediction und Data-Prefetch-Logic
- Unterstützung für MMX-Technology, Streaming-SIMD Befehle, und den SSE2 Befehlssatz
- Eine 400 oder 533 MHz Source-Synchronous Systembus
- Erweitertes Power-Management durch die Erweiterte Intel SpeedStep Technologie
Dual Core Architektur
Die Pentium M Architektur wurde für den Core Duo (und den Core Solo) erweitert. Die Erweiterungen umfassen:
- Intel Smart Cache, welcher das Data-Sharing der beiden Prozessoren verbessert.
- Verbesserte Dekodierungs- und SIMD-Ausführung
- Intel Dynamic Power Coordination und Erweiterter Intel Deeper Sleep zur Verringerung des Stromverbrauchs
- Intel Advanced-Thermal-Manager, der digitale Temperatursensorschnittstellen bietet.
- Unterstützung der leistungsoptimierten 667 MHz Busses.
- SSE3 Erweiterung des Befehlssatzes
Core Duo versus Core 2 Duo
Einen Vergleich zwischen Core Duo (Yonah) Architektur und Core 2 Duo (Merom) finden sie in unserer Beschreibung der Core 2 Duo Prozessors.
Stromsparfunktionen
Dynamic Power Coordination mit Dynamic Bus Parking
Bei Bedarf wird mit beiden Rechenkernen gearbeitet bzw. wenn nicht soviel Leistung benötigt wird, wird einer der beiden Kerne deaktiviert.
Erweiterter Deeper Sleep mit Dynamic Cache Sizing
Die erweiterte Deeper Sleep macht es möglich, die Spannung unter die minimum Spannung von Deeper Sleep abzusenken und erweitert damit die Möglichkeiten Strom zu sparen. Dynamic Cache Sizing ist auch ein Stromsparmechanismus, bei welchem der Systemspeicher abhängig von den Anforderung und in Leerlaufzeiten automatisch abgeglichen wird.
Erweiterter Intel SpeedStep Technologie
Die SpeedStep Technologie ermöglicht es je nach Anforderung zwischen verschiedenen Leistungs-Modi zu wechseln und so gegebenenfalls Strom zu sparen.
Mitbewerber
Die Tegra 600 Serie und die Tegra AXP Serie von Nvidia bieten ebenfalls ein Ein-Chip-Lösungen, die für mobile Geräte wie Smartphones, PDAs und MIDs entwickelt wurde. Sie basiert auf der ARM RISC Architektur und ist nicht binär kompatibel mit Intel oder AMD Systemen, d.h. die Programme müssen eigens für diese Plattform kompiliert werden.
Die VIA/C7-M (Herstellerseite) CPU Serien sind x86 basiert und wurden von Centaur Technology entwickelt und werden von VIA verkauft. Die C7-M (Herstellerseite) Serie un die C7-M Ultra Low Voltage (Herstellerseite) Serie wurden für mobile Geräte und Embedded-Systems entwickelt.
Links
Sondermodelle
Der T7600G ist ein normaler T7600, jedoch mit frei wählbarem Multiplikator (zum Übertakten).



